欢迎来到知嘟嘟! 联系电话:13336804447 卖家免费入驻,海量在线求购! 卖家免费入驻,海量在线求购!
知嘟嘟
我要发布
联系电话:13336804447
知嘟嘟经纪人
收藏
专利号: 2019223551435
申请人: 南昌华拓实业有限公司
专利类型:实用新型
专利状态:已下证
专利领域: 农业;林业;畜牧业;狩猎;诱捕;捕鱼
更新日期:2024-02-23
缴费截止日期: 暂无
价格&联系人
年费信息
委托购买

摘要:

权利要求书:

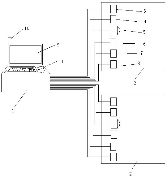
1.鸡苗孵化用工业控制器,包括主机,其特征在于,所述的主机通过通讯线分别连接设置在一个或多个孵化箱内的温度传感器、温度控制器、摄像机、湿度传感器和湿度调节器。

2.根据权利要求1所述的鸡苗孵化用工业控制器,其特征在于:所述的孵化箱内还设置有风机控制器,风机控制器通过通讯线连接至主机。

3.根据权利要求1所述的鸡苗孵化用工业控制器,其特征在于:所述的主机设置有显示器和输入设备。

4.根据权利要求1所述的鸡苗孵化用工业控制器,其特征在于:所述的主机还连接报警器,并在温度传感器采集的温度和温度控制器设定的温度不一致时,或则在湿度传感器采集的湿度和湿度调节器设定的湿度不一致时,产生报警信号。