欢迎来到知嘟嘟! 联系电话:13336804447 卖家免费入驻,海量在线求购! 卖家免费入驻,海量在线求购!
知嘟嘟
我要发布
联系电话:13336804447
知嘟嘟经纪人
收藏
专利号: 2019223541185
申请人: 郑州市毛庄印刷厂
专利类型:实用新型
专利状态:已下证
专利领域: 输送;包装;贮存;搬运薄的或细丝状材料
更新日期:2025-02-25
缴费截止日期: 暂无
价格&联系人
年费信息
委托购买

摘要:

权利要求书:

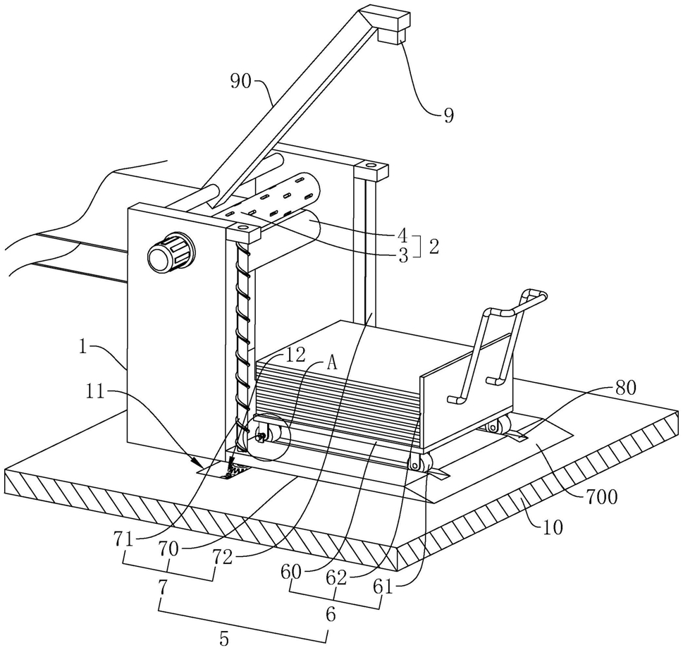
1.一种翻折机送纸结构,其特征在于,包括机架(1),所述机架(1)上设置有传送装置(2)、用于调节纸张高度的升降装置(5)和用于控制升降装置(5)的高度的控制装置,所述升降装置(5)包括升降部(7)和用于放置纸张的置物部(6),升降部(7)安装在机架(1)上,置物部(6)与升降部(7)可拆卸连接,所述升降部(7)包括可以降至与地面(10)抵接的升降板(70),升降板(70)的上表面设置有用于固定置物部(6)在升降板(70)上的定位部(8),所述置物部(6)包括用于放置纸张的置物板(60)和若干转动件,转动件设置在置物板(60)的下表面,所述转动件与定位部(8)卡接。

2.根据权利要求1所述的翻折机送纸结构,其特征在于,所述定位部(8)包括限位滑轨(80)和定位件(81),限位滑轨(80)开设在升降板(70)的上表面,定位件(81)设置在限位滑轨(80)背离斜板(700)一端的两侧,定位件(81)与升降板(70)固定连接,所述转动件设置为若干可以转动的走行轮(61),所述走行轮(61)滑动配合在限位滑轨(80)内,所述定位件(81)与走行轮(61)卡接,所述升降板(70)上固定设置有斜板(700)。

3.根据权利要求2所述的翻折机送纸结构,其特征在于,所述定位件(81)包括支撑板(810)、限位杆(811)和固定压簧(812),所述支撑板(810)竖直设置在升降板(70)的上表面,所述限位杆(811)穿设在支撑板(810)上,限位杆(811)与支撑板(810)滑动连接,限位杆(811)的一端设置有挡板(813),所述固定压簧(812)套设在限位杆(811)上,固定压簧(812)的一端与挡板(813)固定连接,另一端与支撑板(810)固定连接,所述走行轮(61)的转轴上开设有弧形槽(610),限位杆(811)的另一端与弧形槽(610)卡接。

4.根据权利要求1所述的翻折机送纸结构,其特征在于,所述升降部(7)还包括丝杠(71)和支撑杆(72),丝杠(71)和支撑杆(72)均竖直设置,丝杠(71)与支撑杆(72)垂直贯穿升降板(70),丝杠(71)与升降板(70)螺纹连接,所述支撑杆(72)与升降板(70)滑动连接,所述支撑杆(72)和丝杠(71)的顶端均与机架(1)转动连接,支撑杆(72)的底部与地面(10)转动连接,所述地面(10)上开设有安装槽(11),安装槽(11)内设置有用于驱动丝杠(71)转动的驱动件(12)。

5.根据权利要求4所述的翻折机送纸结构,其特征在于,所述丝杠(71)的底端置于安装槽(11)内,且丝杠(71)的底端固定套设有转动齿轮(710),所述驱动件(12)包括转动电机(120)和驱动齿轮(121),转动齿轮(710)与驱动齿轮(121)均设置为锥齿轮,驱动齿轮(121)与转动电机(120)的转轴同轴固定,转动齿轮(710)与驱动齿轮(121)啮合。

6.根据权利要求1所述的翻折机送纸结构,其特征在于,所述传送装置(2)包括用于将纸张从置物部(6)上吸起的吸纸部(3)以及将纸张送纸翻折机构处的传送带(4),所述吸纸部(3)包括吸纸辊(30)和抽吸装置(31)、用于驱动吸纸辊(30)转动的驱动电机(32),吸纸辊(30)与机架(1)转动连接,吸纸辊(30)的一端与驱动电机(32)同轴固定,驱动电机(32)与机架(1)固定连接,吸纸辊(30)的内部开设有抽吸腔,吸纸辊(30)的表面设置有若干抽吸孔(33),抽吸孔(33)与抽吸腔连通,所述吸纸辊(30)背离与驱动电机(32)连接的一端与抽吸装置(31)连通,所述抽吸装置(31)上设置有抽吸管(310),抽吸管(310)与抽吸腔连通,抽吸管(310)与吸纸辊(30)转动连接,抽吸管(310)与机架(1)固定连接。

7.根据权利要求6所述的翻折机送纸结构,其特征在于,所述抽吸装置(31)的抽吸管(310)的端部套设有一密封滑环(311),密封滑环(311)设置有固定圈(312)和转动圈(313),转动圈(313)套设在固定圈(312)外与固定圈(312)转连接,固定圈(312)与抽吸管(310)固定连接,抽吸管(310)的端部置于抽吸腔内且与抽吸腔连通,转动圈(313)与吸纸辊(30)固定连接。

8.根据权利要求5所述的翻折机送纸结构,其特征在于,所述控制装置包括传感器(9)、控制单元以及继电器,距离传感器(9)的信号输出端与控制单元的输入端连通,控制单元可设置为PLC或是单片机,继电器包括控制端和被控制端,控制端与转动电机(120)、220V电源串联,被控制端、控制单元的输出端和36V电源串联,机架(1)上设置有用于固定传感器(9)的支架(90),距离传感器(9)安装。