欢迎来到知嘟嘟! 联系电话:13336804447 卖家免费入驻,海量在线求购! 卖家免费入驻,海量在线求购!
知嘟嘟
我要发布
联系电话:13336804447
知嘟嘟经纪人
收藏
专利号: 2019222428715
申请人: 宁波大学
专利类型:实用新型
专利状态:已下证
专利领域: 一般车辆
更新日期:2023-08-24
缴费截止日期: 暂无
价格&联系人
年费信息
委托购买

摘要:

权利要求书:

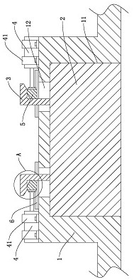
1.一种新能源汽车电池安装结构,包括车体(1)和安装在车体(1)底部的电池组(2),所述车体(1)的底部设置有可供电池组(2)嵌入的凹槽(11),其特征在于:所述电池组(2)的上端面上固定有两个呈左右对称设置的“L”字形的悬挂架(3),所述凹槽(11)的顶部设置有分别可供其中一个悬挂架(3)竖向穿过的通孔(12),所述车体(1)的内部固定有分别用于支撑其中一个悬挂架(3)的支撑结构;每个支撑结构均包括固定在车体(1)中的电动伸缩杆(4),所述电动伸缩杆(4)的伸缩端上固定有用于支撑悬挂架(3)中的水平段(31)的支撑块(5),所述支撑块(5)可左右滑动地连接在车体(1)中。

2.根据权利要求1所述的新能源汽车电池安装结构,其特征在于,每个通孔(12)前侧和后侧的车体(1)中均固定有滑轨(6),每根滑轨(6)均沿支撑块(5)的移动方向延伸,每块支撑块(5)均与对应侧的两根滑轨(6)滑动连接。

3.根据权利要求1所述的新能源汽车电池安装结构,其特征在于,每块支撑块(5)朝向悬挂架(3)一端的顶部均设置有用于与水平段(31)的底面配合导向以方便支撑块(5)插入到水平段(31)下方的第一导向斜面(51)。

4.根据权利要求1所述的新能源汽车电池安装结构,其特征在于,每个水平段(31)外端部处的下表面上均设置有用于与支撑块(5)配合导向以方便支撑块(5)插入到水平段(31)下方的第二导向斜面(32)。

5.根据权利要求1所述的新能源汽车电池安装结构,其特征在于,每个电动伸缩杆(4)均通过一对抱箍(41)压紧在车体(1)上。