欢迎来到知嘟嘟! 联系电话:13336804447 卖家免费入驻,海量在线求购! 卖家免费入驻,海量在线求购!
知嘟嘟
我要发布
联系电话:13336804447
知嘟嘟经纪人
收藏
专利号: 2019219851738
申请人: 余姚市沁缘户外用品有限公司
专利类型:实用新型
专利状态:已下证
专利领域: 家具;家庭用的物品或设备;咖啡磨;香料磨;一般吸尘器
更新日期:2023-08-24
缴费截止日期: 暂无
价格&联系人
年费信息
委托购买

摘要:

权利要求书:

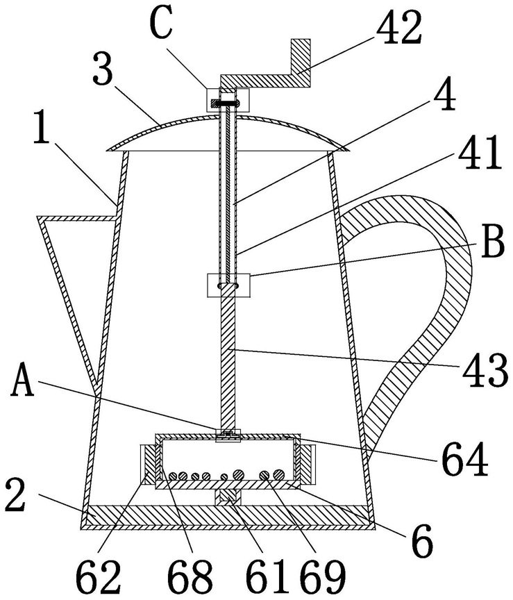
1.一种过滤式咖啡壶,包括壶体(1),其特征在于:所述壶体(1)下端内壁安装有定位座(2),所述壶体(1)上端安装有壶盖(3),所述壶盖(3)中间连接有升降装置(4),所述升降装置(4)下端前后两侧对称设有连接扣(5),所述升降装置(4)通过所述连接扣(5)连接有过滤盒(6);

所述过滤盒(6)下端面设有定位块(61),所述过滤盒(6)的侧壁沿其周向方向均匀设有弧形扇叶(62),两个弧形扇叶(62)之间的过滤盒(6)外侧壁均匀设有条状贯通孔(63),所述过滤盒(6)上端卡接有盒盖(64),所述盒盖(64)沿其径向方向均匀设有镂空孔(67),所述盒盖(64)上端面中间设有方槽(65),所述方槽(65)前后两侧内壁设有卡条槽(66),所述方槽(65)与所述升降装置(4)的下端相连接;

所述连接扣(5)包括在升降装置(4)前后两侧下端对称设置的滑动槽(51),所述滑动槽(51)内左右两侧通过滑动配合的方式对称连接有推杆(52),所述推杆(52)下端连接卡条(53),左右卡条(53)之间安装有拉伸弹簧(54),所述卡条(53)与所述卡条槽(66)滑动连接。

2.根据权利要求1所述的一种过滤式咖啡壶,其特征在于:所述升降装置(4)包括安装在所述壶盖(3)中间的拉杆(41),所述拉杆(41)上端安装有摇把(42),所述拉杆(41)上端内部转动连接有升降机构(40),所述拉杆(41)下端通过滑动配合的方式连接有升降杆(43),所述拉杆(41)左右两侧对称开设有滑槽(44),所述升降杆(43)左右两侧对称安装有定位钉(45),所述定位钉(45)与所述滑槽(44)滑动连接。

3.根据权利要求2所述的一种过滤式咖啡壶,其特征在于:所述升降机构(40)包括与所述拉杆(41)上端内部转动连接的绕绳杆(401),所述绕绳杆(401)左侧穿过所述拉杆(41)左侧壁,所述绕绳杆(401)左侧活动连接有方帽(402),所述拉杆(41)左侧壁设有与所述方帽(402)相吻合的凹槽,所述绕绳杆(401)中间连接有拉绳(403),所述拉绳(403)下端与所述升降杆(43)相连接。

4.根据权利要求1所述的一种过滤式咖啡壶,其特征在于:所述过滤盒(6)下端为实心结构,所述过滤盒(6)外侧壁均匀设有与所述弧形扇叶(62)旋向相反的条状贯通孔(63),所述盒盖(64)上均匀设有镂空孔(67),且所述过滤盒(6)内侧壁和所述盒盖(64)下端面均安装有过滤网(68)。

5.根据权利要求1所述的一种过滤式咖啡壶,其特征在于:所述过滤盒(6)内放置有小钢珠(69)。

我要求购
我不想找了,帮我找吧
您有专利需要变现?
我要出售
智能匹配需求,快速出售