欢迎来到知嘟嘟! 联系电话:13336804447 卖家免费入驻,海量在线求购! 卖家免费入驻,海量在线求购!
知嘟嘟
我要发布
联系电话:13336804447
知嘟嘟经纪人
收藏
专利号: 2019219211337
申请人: 河南省发达起重机有限公司
专利类型:实用新型
专利状态:已下证
专利领域: 卷扬;提升;牵引
更新日期:2025-03-24
缴费截止日期: 暂无
价格&联系人
年费信息
委托购买

摘要:

权利要求书:

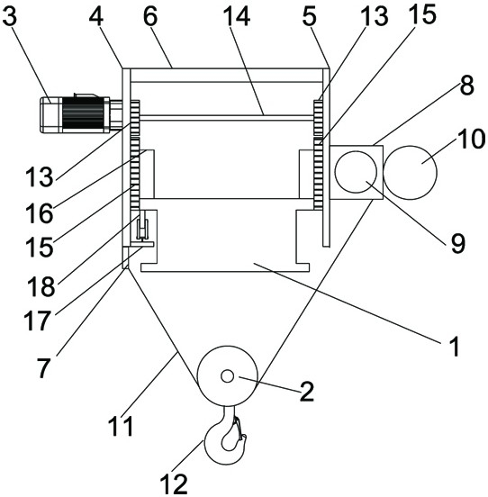
1.一种低净空钢丝绳电动葫芦,包括主梁、葫芦本体,其特征在于:主梁上表面上装有能够沿主梁上表面往复运动的运行车体,运行车体包括行走电机、行走侧板和起升侧板,行走侧板和起升侧板平行且间隔设置,行走侧板和起升侧板之间固定连接有支撑柱,行走电机固定连接在行走侧板的外壁,行走侧板的底部固定连接有定滑轮,起升侧板的外壁与葫芦本体固定连接,葫芦本体包括外壳,外壳内部设有卷筒,外壳的侧壁上固定连接有起升电机,起升电机与卷筒通过传动齿轮传动连接,卷筒内部绕设有钢丝绳,钢丝绳的一端固定连接在定滑轮上,定滑轮与卷筒之间的钢丝绳上套设有动滑轮,动滑轮的下方安装有吊钩装置。

2.根据权利要求1所述的低净空钢丝绳电动葫芦,其特征在于:行走电机的传动输出轴延伸至行走侧板的内侧且其端部固定连接有驱动齿轮,起升侧板的内壁上转动连接有驱动齿轮,两个驱动齿轮通过传动轴传动连接,驱动齿轮下方的行走侧板和起升侧板上均转动连接有行走齿轮,行走齿轮分别与相应的驱动齿轮相啮合,行走齿轮上固定连接有行走轮,行走轮滚动连接在主梁的上表面。

3.根据权利要求2所述的低净空钢丝绳电动葫芦,其特征在于:行走齿轮与行走轮同轴设置,行走齿轮的直径大于行走轮,行走齿轮位于主梁的外侧。

4.根据权利要求1所述的低净空钢丝绳电动葫芦,其特征在于:行走侧板的底部固定连接有支撑板,支撑板水平设置,支撑板上固定连接有反滚装置。

5.根据权利要求4所述的低净空钢丝绳电动葫芦,其特征在于:反滚装置包括两个间隔且平行设置的连接板,连接板之间转动连接有反滚轮,连接板之间固定连接有固定板,固定板上设有安装孔,安装孔内滑动连接有导向杆,导向杆的顶端螺纹连接有螺母,螺母与固定板间隔设置,导向杆的底部螺纹连接在支撑板上,固定板与支撑板之间的导向杆上套设有复位弹簧,复位弹簧与支撑板之间的导向杆上螺纹连接有调节螺母。

6.根据权利要求5所述的低净空钢丝绳电动葫芦,其特征在于:固定板与复位弹簧之间的导向杆上套设有垫片。

我要求购
我不想找了,帮我找吧
您有专利需要变现?
我要出售
智能匹配需求,快速出售