欢迎来到知嘟嘟! 联系电话:13336804447 卖家免费入驻,海量在线求购! 卖家免费入驻,海量在线求购!
知嘟嘟
我要发布
联系电话:13336804447
知嘟嘟经纪人
收藏
专利号: 2019219160956
申请人: 浙江冠林机械有限公司
专利类型:实用新型
专利状态:已下证
专利领域: 卷扬;提升;牵引
更新日期:2024-02-28
缴费截止日期: 暂无
价格&联系人
年费信息
委托购买

摘要:

权利要求书:

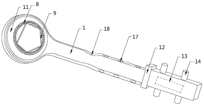
1.一种手板葫芦的可调把手,其特征在于,包括有电磁装置(13)、连接板(3)、弹簧轴(5)、挂钩(2)、套壳(19)、把手主体(1)与固定装置,所述固定装置包括有固定环(11)、固定杆(9)、固定轴(7)与通孔(10),所述把手主体(1)的一端固定连接有固定环(11),所述固定环(11)的中心处开设有一体成型的通孔(10),所述固定环(11)靠近所述通孔(10)的边缘处均匀设置有一体成型的固定孔(8),所述固定孔(8)的一侧设置有固定杆(9),所述固定杆(9)的两端设置有一体成型的螺纹孔(16),所述螺纹孔(16)与所述固定孔(8)大小相同,所述把手主体(1)通过通孔(10)与固定轴(7)与机壳(6)相连接。

2.根据权利要求1所述的一种手板葫芦的可调把手,其特征在于,所述把手主体(1)的中端两侧设置有一体成型的凹口(18),所述把手主体(1)远离所述机壳(6)的一端固定连接有套壳(19),所述套壳(19)的内部固定连接有电磁装置(13)。

3.根据权利要求1所述的一种手板葫芦的可调把手,其特征在于,所述套壳(19)的边缘处固定连接有橡胶环(12),所述套壳(19)的侧表面设置有开关(15),所述开关(15)与所述电磁装置(13)电性相连。

4.根据权利要求1所述的一种手板葫芦的可调把手,其特征在于,所述套壳(19)的两侧插有若干电磁柱(14),所述电磁装置(13)与所述电磁柱(14)电性相连,所述把手主体(1)的两侧表面均匀开设有一体成型的若干固定孔A(17),两个所述固定孔A(17)之间的距离与两个所述电磁柱(14)之间的距离相同。

5.根据权利要求1所述的一种手板葫芦的可调把手,其特征在于,所述机壳(6)的上端固定连接有连接板(3),所述连接板(3)的一侧固定连接有弹簧轴(5),所述连接板(3)通过所述弹簧轴(5)与挡板(4)相连接。

6.根据权利要求1所述的一种手板葫芦的可调把手,其特征在于,所述连接板(3)的上表面固定连接有挂钩(2)。

我要求购
我不想找了,帮我找吧
您有专利需要变现?
我要出售
智能匹配需求,快速出售