欢迎来到知嘟嘟! 联系电话:13336804447 卖家免费入驻,海量在线求购! 卖家免费入驻,海量在线求购!
知嘟嘟
我要发布
联系电话:13336804447
知嘟嘟经纪人
收藏
专利号: 2019218141360
申请人: 宁波职业技术学院
专利类型:实用新型
专利状态:已下证
专利领域: 手携物品或旅行品
更新日期:2023-08-24
缴费截止日期: 暂无
价格&联系人
年费信息
委托购买

摘要:

权利要求书:

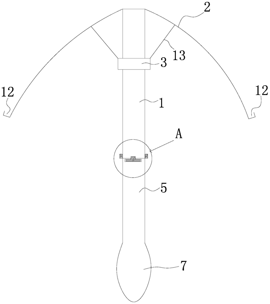
1.一种旋转雨伞,其特征在于,包括:支撑杆,所述支撑杆上端活动连接有伞骨,支撑杆上活动套设有用于开合伞骨的滑块,支撑杆下端固定套设有连接环;

手柄杆,其上端设置有卡接环,所述卡接环与所述连接环活动卡接,所述手柄杆下端设置有手持柄,手柄杆内设置有卡合槽,所述卡合槽内活动设置有卡合块,所述卡合块上端贯穿所述手柄杆且与所述支撑杆下端固定连接。

2.根据权利要求1所述的一种旋转雨伞,其特征在于,所述卡接环上端设置有限位板,所述限位板活动抵靠于所述连接环上端。

3.根据权利要求1所述的一种旋转雨伞,其特征在于,所述卡接环内侧活动设置有滚珠,所述滚珠活动抵靠于所述连接环外侧面。

4.根据权利要求2所述的一种旋转雨伞,其特征在于,所述伞骨端部设置有蓄水槽。

5.根据权利要求4所述的一种旋转雨伞,其特征在于,所述滑块上转动设置有连接杆,所述连接杆端部与所述伞骨转动连接。