欢迎来到知嘟嘟! 联系电话:13336804447 卖家免费入驻,海量在线求购! 卖家免费入驻,海量在线求购!
知嘟嘟
我要发布
联系电话:13336804447
知嘟嘟经纪人
收藏
专利号: 201921766439X
申请人: 张玲
专利类型:实用新型
专利状态:已下证
专利领域: 计算;推算;计数
更新日期:2025-08-12
缴费截止日期: 暂无
价格&联系人
年费信息
委托购买

摘要:

权利要求书:

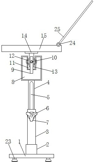
1.一种岩土工程造价用计算装置,包括底板(1),其特征在于:所述底板(1)的顶部固定连接有支撑块(2),所述支撑块(2)的顶部固定连接有套筒(3),所述套筒(3)的内部活动连接有调节杆(4),所述调节杆(4)的正面开设有调节孔(5),所述套筒(3)的内部螺纹连接有锁紧杆(6),所述锁紧杆(6)的正面固定连接有凸轮(7),所述凸轮(7)活动连接在套筒(3)的正面,所述调节杆(4)的顶部固定连接有调节箱(8),所述调节箱(8)的正面固定连接有限位杆(9),所述限位杆(9)的内部固定连接有定位杆(10),所述调节箱(8)的内侧开设有通槽(11),所述通槽(11)的内部活动连接有转动环(12),所述转动环(12)的外壁活动连接有连接板(13),所述定位杆(10)分别活动连接在转动环(12)和连接板(13)的内部,所述连接板(13)的顶部固定连接有顶板(14),所述顶板(14)的顶部固定连接有放置箱(15),所述放置箱(15)的顶部分别开设有凹槽(16)和放置槽(17),所述凹槽(16)的内部活动连接有夹紧板(18),所述夹紧板(18)的侧面固定连接有活动杆(19),所述凹槽(16)的内部固定连接有固定筒(20),所述活动杆(19)活动连接在固定筒(20)的内部,所述活动杆(19)的一端固定连接有挡板(21),所述挡板(21)活动连接在固定筒(20)的内部,所述放置槽(17)的内部固定连接有翻口夹(22)。

2.根据权利要求1所述的一种岩土工程造价用计算装置,其特征在于:所述底板(1)的底部固定连接有支撑脚(23),所述支撑脚(23)的数量为四个。

3.根据权利要求1所述的一种岩土工程造价用计算装置,其特征在于:所述放置箱(15)的内部通过轴承固定连接有转轴(24),所述转轴(24)的外壁固定连接有活动盖(25),所述活动盖(25)活动连接在放置箱(15)的上方。

4.根据权利要求1所述的一种岩土工程造价用计算装置,其特征在于:所述夹紧板(18)的数量为两个,且两个夹紧板(18)以凹槽(16)的中线为对称轴对称分布在凹槽(16)的内部。

5.根据权利要求1所述的一种岩土工程造价用计算装置,其特征在于:所述固定筒(20)的内部固定连接有挡块(26),所述活动杆(19)活动连接在挡块(26)的内部,所述挡板(21)的长度与挡块(26)的长度相同。

6.根据权利要求1所述的一种岩土工程造价用计算装置,其特征在于:所述活动杆(19)的外壁活动连接有压力弹簧(27),所述压力弹簧(27)的一端固定连接在凹槽(16)的内壁。