欢迎来到知嘟嘟! 联系电话:13336804447 卖家免费入驻,海量在线求购! 卖家免费入驻,海量在线求购!
知嘟嘟
我要发布
联系电话:13336804447
知嘟嘟经纪人
收藏
专利号: 2019216816130
申请人: 宁波大学
专利类型:实用新型
专利状态:已下证
专利领域: 一般的物理或化学的方法或装置
更新日期:2023-08-24
缴费截止日期: 暂无
价格&联系人
年费信息
委托购买

摘要:

权利要求书:

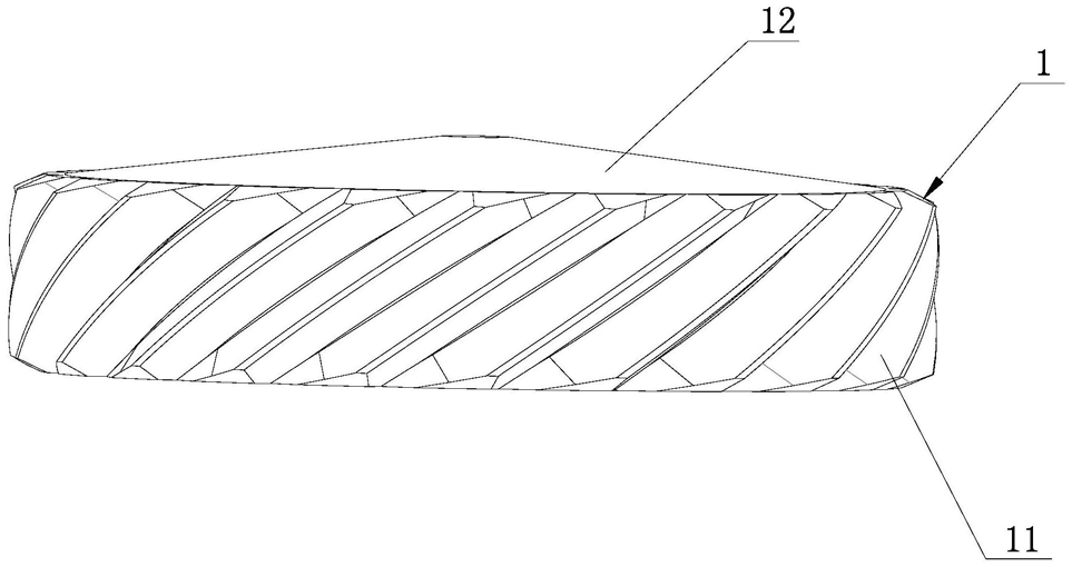
1.一种电磁搅拌器,包括搅拌转子和容器,其特征在于:所述的搅拌转子由两轴端敞口的管状螺旋刀、设置于所述的管状螺旋刀的顶部以完全覆盖住顶部敞口的微倾顶、径向设置于所述的管状螺旋刀的底部的桨状支架、设置于所述的桨状支架的两端上的强磁力物质组成,所述的管状螺旋刀的外周壁呈螺旋刀状结构,所述的微倾顶的顶部为窄端,所述的微倾顶的顶部开设有连通所述的管状螺旋刀的内腔与所述的容器的内腔的出液孔,两个所述的强磁力物质的磁性相反,所述的桨状支架的中间位置通过轴承结构与所述的容器的内底部连接使所述的搅拌转子安装于所述的容器的内腔中,所述的搅拌转子转动时所述的管状螺旋刀的外周壁对水的作用力方向与所述的桨状支架对水的作用力方向相反,且所述的搅拌转子与所述的容器的内底部和内周壁互不触碰。

2.根据权利要求1所述的一种电磁搅拌器,其特征在于:所述的微倾顶呈圆锥台结构,所述的微倾顶的倾斜角度为3~10度。

3.根据权利要求1或2所述的一种电磁搅拌器,其特征在于:所述的桨状支架呈双叶螺旋桨状结构,所述的桨状支架的螺距角的角度为5~30度。

4.根据权利要求3所述的一种电磁搅拌器,其特征在于:所述的桨状支架的两端与所述的管状螺旋刀的内周壁底部刚性连接。

5.根据权利要求4所述的一种电磁搅拌器,其特征在于:所述的轴承结构包括安装于所述的容器的内底部中间位置上的转子轴承和开设于所述的桨状支架的中间位置上的轴承孔,所述的转子轴承与所述的轴承孔配合并连接。

6.根据权利要求5所述的一种电磁搅拌器,其特征在于:所述的转子轴承的顶部呈球状,且直径微小于所述的轴承孔的孔径。

7.根据权利要求5所述的一种电磁搅拌器,其特征在于:两个所述的强磁力物质的大小与形状相同,两个所述的强磁力物质关于所述的轴承孔对称分布。

8.根据权利要求1所述的一种电磁搅拌器,其特征在于:所述的强磁力物质为强力永磁性物质。

9.根据权利要求1所述的一种电磁搅拌器,其特征在于:所述的搅拌转子转动时所述的管状螺旋刀的外周壁对水的作用力向下,且所述的桨状支架对水的作用力向上。

10.根据权利要求1所述的一种电磁搅拌器,其特征在于:所述的容器的内腔的直径略大于所述的管状螺旋刀的外径0.5~3毫米。