欢迎来到知嘟嘟! 联系电话:13336804447 卖家免费入驻,海量在线求购! 卖家免费入驻,海量在线求购!
知嘟嘟
我要发布
联系电话:13336804447
知嘟嘟经纪人
收藏
专利号: 2019216729185
申请人: 重庆工程职业技术学院
专利类型:实用新型
专利状态:已下证
专利领域: 工程元件或部件;为产生和保持机器或设备的有效运行的一般措施;一般绝热
更新日期:2025-04-01
缴费截止日期: 暂无
价格&联系人
年费信息
委托购买

摘要:

权利要求书:

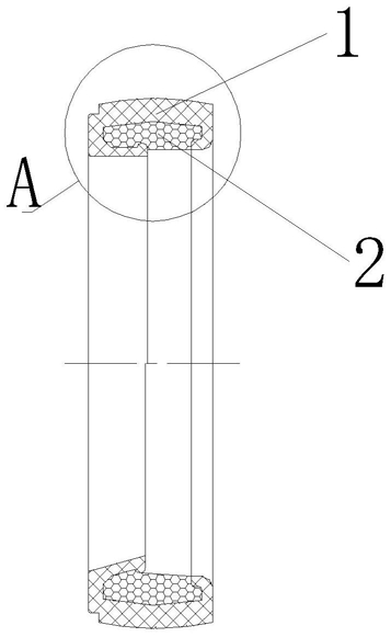
1.一种单体液压支柱用复合密封圈,包括环形密封圈本体(1),所述环形密封圈本体(1)的内侧壁面或外侧壁面构成密封面;其特征在于,所述环形密封圈本体(1)内粘合固定有由多孔材料构成的环形骨架(2),且所述环形骨架(2)在密封圈本体(1)远离所述密封面的侧壁上具有暴露部分。

2.根据权利要求1所述的单体液压支柱用复合密封圈,其特征在于,所述环形骨架(2)的截面整体为长条形或T形。

3.根据权利要求1或2所述的单体液压支柱用复合密封圈,其特征在于,所述密封面上开设有储液槽(3)。

4.根据权利要求3所述的单体液压支柱用复合密封圈,其特征在于,所述储液槽(3)呈环形,或沿周向分布的至少一个“∞”形。

5.根据权利要求4所述的单体液压支柱用复合密封圈,其特征在于,当储液槽(3)呈环形时,所述储液槽(3)的分布形状为直线、波纹线或折线。

6.根据权利要求4所述的单体液压支柱用复合密封圈,其特征在于,当储液槽(3)为多个“∞”形时,所述储液槽(3)的两个相邻“∞”形贯通。

7.根据权利要求3所述的单体液压支柱用复合密封圈,其特征在于,所述储液槽(3)的截面为弧形、V形、矩形、水滴形或U形。

8.根据权利要求3所述的单体液压支柱用复合密封圈,其特征在于,所述环形密封圈本体(1)的密封面为与本体材料不同的结构复合材料层,或在本体材料上直接形成的、性能不同的结构复合材料层。