欢迎来到知嘟嘟! 联系电话:13336804447 卖家免费入驻,海量在线求购! 卖家免费入驻,海量在线求购!
知嘟嘟
我要发布
联系电话:13336804447
知嘟嘟经纪人
收藏
专利号: 2019216220226
申请人: 浙江师范大学行知学院
专利类型:实用新型
专利状态:已下证
专利领域: 一般的物理或化学的方法或装置
更新日期:2023-08-24
缴费截止日期: 暂无
价格&联系人
年费信息
委托购买

摘要:

权利要求书:

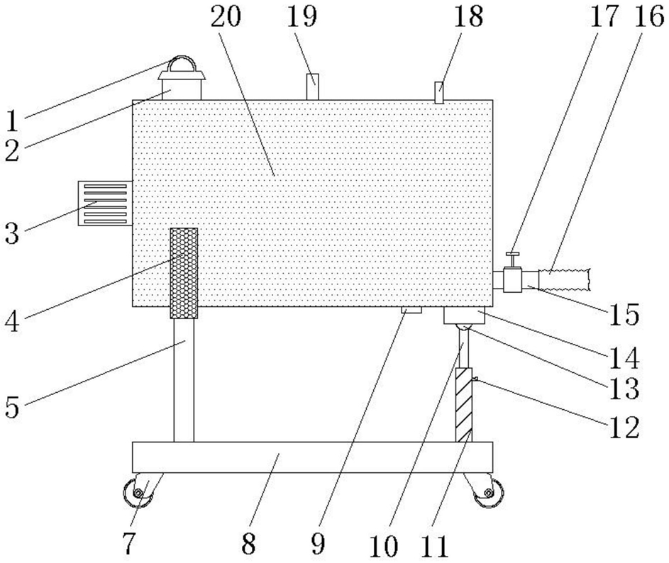
1.一种化学实验废液处理装置,包括混料箱(20),其特征在于:所述混料箱(20)的上表面固定连通有进料管(2),所述混料箱(20)的上表面固定连接有手柄(18),所述混料箱(20)的下方放置有底板(8),所述底板(8)底面的四个边角处均固定安装有滚动轮(7),所述底板(8)的上表面固定连接有支撑柱(5),所述支撑柱(5)的上表面固定连接有支架(4),且支架(4)两端的外表面均通过销轴(21)与混料箱(20)的外表面固定铰接,所述混料箱(20)的底面固定连接有基座(14),且基座(14)位于支架(4)的右侧,所述底板(8)的上表面固定连接有定位桶(11),所述定位桶(11)的内部套接有定位柱(10),所述定位柱(10)的底端固定连接有强力弹簧(6),且强力弹簧(6)的底端与定位桶(11)的内底壁固定连接,所述基座(14)的底面开设有万向槽(34),所述万向槽(34)的内部套接有万向球(13),所述定位柱(10)的底端与万向球(13)固定连接,所述定位桶(11)的外表面开设有插口(35),所述定位柱(10)的外表面开设有限位槽(33),所述插口(35)的内部放置有插销(12),且插销(12)的左端位于限位槽(33)的内部;

所述混料箱(20)的左侧面固定连接有搅拌电机(3),所述混料箱(20)的左侧面固定镶嵌有第一密封轴承(32),所述搅拌电机(3)的输出端固定连接有转动轴(30),所述转动轴(30)的右端贯穿第一密封轴承(32)并延伸至混料箱(20)的内部,所述转动轴(30)的外表面固定连接有搅拌杆(31),所述混料箱(20)的内侧壁固定连接有与混料箱(20)相适配的不锈钢过滤网(27),且不锈钢过滤网(27)位于转动轴(30)的右侧,所述混料箱(20)的底面开设有排渣口(29),且排渣口(29)位于不锈钢过滤网(27)的左侧,所述排渣口(29)的内部放置有与排渣口(29)相适配的密封塞(9),所述混料箱(20)的内壁固定连接有与混料箱(20)相适配的活性炭过滤网(28),且活性炭过滤网(28)位于不锈钢过滤网(27)的右侧,所述不锈钢过滤网(27)的右侧面固定连接有无纺布过滤网(26),所述混料箱(20)右侧面的下部固定连通有出料管(15),所述出料管(15)的外表面固定安装有阀门(17),所述出料管(15)的右端固定连通有软管(16)。

2.根据权利要求1所述的一种化学实验废液处理装置,其特征在于:所述进料管(2)的上方放置有密封盖(1),且密封盖(1)的上表面固定连接有把手。

3.根据权利要求1或2所述的一种化学实验废液处理装置,其特征在于:所述混料箱(20)的上表面固定连通有加料管(19),且加料管(19)位于进料管(2)的右侧。

4.根据权利要求3所述的一种化学实验废液处理装置,其特征在于:所述加料管(19)的底端固定连接有输送管(22),所述输送管(22)的外表面与混料箱(20)的内壁固定连接。

5.根据权利要求1所述的一种化学实验废液处理装置,其特征在于:所述不锈钢过滤网(27)的左侧面固定镶嵌有第二密封轴承(25),所述转动轴(30)右端的外表面与第二密封轴承(25)的内圈固定连接。

6.根据权利要求1所述的一种化学实验废液处理装置,其特征在于:所述转动轴(30)的外表面固定连接有两个相对称的刮刀(23),两个所述刮刀(23)靠近不锈钢过滤网(27)的一侧面均固定连接有毛刷(24),且毛刷(24)与不锈钢过滤网(27)相接触。