欢迎来到知嘟嘟! 联系电话:13336804447 卖家免费入驻,海量在线求购! 卖家免费入驻,海量在线求购!
知嘟嘟
我要发布
联系电话:13336804447
知嘟嘟经纪人
收藏
专利号: 2019216086655
申请人: 中国计量大学
专利类型:实用新型
专利状态:无效专利
专利领域: 一般喷射或雾化;对表面涂覆液体或其他流体的一般方法〔2〕
更新日期:2023-08-24
缴费截止日期: 暂无
价格&联系人
年费信息
委托购买

摘要:

权利要求书:

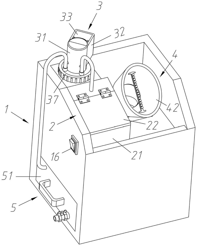
1.一种喷枪清洗平台,其特征在于,它包括外壳,清洗液存储装置,喷壶清洗装置,抽吸装置以及滤液收集装置,喷枪清洗模式分为初步清洗和彻底清洗,初步清洗将滤液收集装置内剩余的滤液作为清洗液,由喷壶清洗装置对喷壶进行清洗,而抽吸装置负责清洗喷嘴并对清洗过程中产生的气液混合项进行抽吸以及过滤,滤液由滤液收集装置收集以循环使用并最终从排水阀门排出;彻底清洗由清洗液存储装置提供清洗液,进行与初步清洗相同的清洗工作,滤液由滤液收集装置收集后用于下次喷枪的初步清洗。

2.根据权利要求1所述的一种喷枪清洗平台,其特征在于,所述清洗液存储装置包括清洗液罐、顶盖以及第一气泵,清洗液罐安装于外壳顶端,顶盖通过合页与清洗液罐连接,第一气泵安装于清洗液罐内部,且清洗液罐上开有通孔,软质导管穿过通孔将第一气泵与喷壶清洗装置连接。

3.根据权利要求1所述的一种喷枪清洗平台,其特征在于,所述喷壶清洗装置包括装置外壳、端盖、电池盖、电机、联轴器、环形毛刷、连接件,所述装置外壳表面设有两个入液口,通过软质导管分别与第一气泵和第二气泵连接;端盖通过螺钉与装置外壳连接,端盖内设有电池仓,且端盖顶部安装有电池盖;电机安装于装置外壳内,且电机通过联轴器与环形毛刷连接,环形毛刷主体四周为软质毛刷且分布较稀疏,底部开有通孔;连接件内表面与装置外壳外表面相契合,且连接件内表面设有内螺纹,与喷壶表面外螺纹配合,可将喷壶清洗装置与喷壶快速连接。

4.根据权利要求1所述的一种喷枪清洗平台,其特征在于,所述抽吸装置包括过滤网、抽吸外罩、抽吸风扇、风扇外罩以及过滤棉,所述外壳内部设有圆形管道,圆形管道的主路从抽吸口到出液口,并在出液口处安装有过滤网,用于过滤清洗废液中较大的颗粒,主路中段分出支路,该支路通往排气口;抽吸外罩安装于外壳,其底部圆孔与抽吸口相连,且抽吸外罩内部设有直排毛刷;风扇外罩安装于外壳背面且与排气口相对,抽吸风扇安装于风扇外罩内;过滤棉安装于排气口,且位于抽吸风扇抽吸方向的前部,用于阻止液体颗粒通过。

5.根据权利要求1所述的一种喷枪清洗平台,其特征在于,所述滤液收集装置包括滤液收集基底和第二气泵,滤液收集基底安装于外壳底部,侧面安装有把手以及排水阀门;第二气泵安装于废液收集基底内部,滤液收集基底侧面开有通孔,软质导管穿过通孔将第二气泵与喷壶清洗装置连接。

6.根据权利要求1所述的一种喷枪清洗平台,其特征在于,所述外壳设有圆柱凹槽,用于在清洗平台不工作时放置喷壶清洗装置,外壳侧面设有档位开关,用于切换清洗模式。

我要求购
我不想找了,帮我找吧
您有专利需要变现?
我要出售
智能匹配需求,快速出售