欢迎来到知嘟嘟! 联系电话:13336804447 卖家免费入驻,海量在线求购! 卖家免费入驻,海量在线求购!
知嘟嘟
我要发布
联系电话:13336804447
知嘟嘟经纪人
收藏
专利号: 2019215977737
申请人: 湖州职业技术学院
专利类型:实用新型
专利状态:已下证
专利领域: 流体压力执行机构;一般液压技术和气动技术
更新日期:2023-08-24
缴费截止日期: 暂无
价格&联系人
年费信息
委托购买

摘要:

权利要求书:

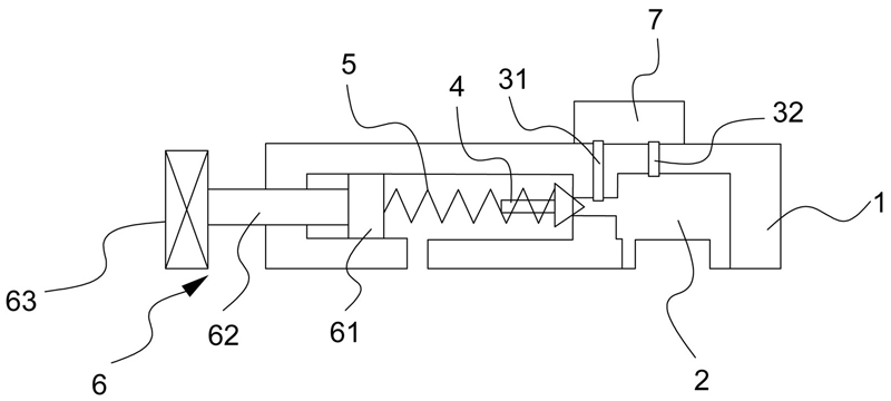
1.一种带有堵塞报警的先导式溢流阀,其特征在于:包括先导阀阀体(1)、设置于先导阀阀体(1)内部、用以输送液压油的阻尼孔(2)、设置于先导阀阀体(1)内部、一端连通阻尼孔(2)的调节腔、设置于调节腔内、用以堵塞阻尼孔(2)一端的先导阀芯(4)、用以推动先导阀芯(4)堵塞阻尼孔(2)的先导阀芯弹簧(5)、一端伸入调节腔内用以调节先导阀芯弹簧(5)长度的调节结构(6)、设置于先导阀阀体(1)顶端的报警指示结构(7)、设置于先导阀体内靠近于先导阀芯(4)的一端、一端连接于报警指示结构(7)第一端、另一端连接于阻尼孔(2)第一端的第一阻尼孔油路(31)和设置于先导阀体内远离先导阀芯(4)的一端、一端连接于报警指示结构(7)第二端、另一端连接于阻尼孔(2)第二端的第二阻尼孔油路(32),所述报警指示结构(7)包括设置于其内部的运动腔、设置于运动腔顶端的观察窗(71)、设置于运动腔内的报警阀芯(74)、设置于报警阀芯(74)上、设置于观察窗(71)底端的绿色指示牌(72)、设置于报警阀芯(74)上、一端连接于绿色指示的红色指示牌(73)、一端连接于报警阀芯(74)第一端的第一弹簧(75)和一端连接于报警阀芯(74)第二端的第二弹簧(76)。

2.如权利要求1所述的一种带有堵塞报警的先导式溢流阀,其特征在于:所述第一弹簧(75)为螺旋圆柱弹簧,所述第二弹簧(76)为螺旋圆柱弹簧。

3.如权利要求1或2所述的一种带有堵塞报警的先导式溢流阀,其特征在于:所述调节结构(6)包括设置于先导阀阀体(1)一端的螺纹孔、连接于先导阀弹簧的推动块(61)和一端螺接于螺纹孔并贯穿螺纹孔连接于推动块(61)的调节螺钉(62)。

4.如权利要求3所述的一种带有堵塞报警的先导式溢流阀,其特征在于:所述红色指示牌(73)的长度等于绿色指示牌(72)的长度。

5.如权利要求4所述的一种带有堵塞报警的先导式溢流阀,其特征在于:所述观察窗(71)的长度等于所述绿色指示牌(72)的长度,所述绿色指示牌(72)平行于所述观察窗(71)。

6.如权利要求5所述的一种带有堵塞报警的先导式溢流阀,其特征在于:所述第一阻尼孔油路(31)平行于第二阻尼孔油路(32)。

7.如权利要求3所述的一种带有堵塞报警的先导式溢流阀,其特征在于:所述调节结构(6)还包括设置于调节螺钉(62)一端的调节手轮(63)。

8.如权利要求6所述的一种带有堵塞报警的先导式溢流阀,其特征在于:所述第一阻尼孔油路(31)垂直于观察窗(71)。

9.如权利要求1或2所述的一种带有堵塞报警的先导式溢流阀,其特征在于:所述观察窗(71)上设有透明玻璃。

10.如权利要求1或2所述的一种带有堵塞报警的先导式溢流阀,其特征在于:所述第一弹簧(75)焊接于报警阀芯(74),所述第二弹簧(76)焊接于报警阀芯(74)。