欢迎来到知嘟嘟! 联系电话:13336804447 卖家免费入驻,海量在线求购! 卖家免费入驻,海量在线求购!
知嘟嘟
我要发布
联系电话:13336804447
知嘟嘟经纪人
收藏
专利号: 2019215471922
申请人: 长江大学
专利类型:实用新型
专利状态:已下证
专利领域: 水、废水、污水或污泥的处理
更新日期:2024-05-23
缴费截止日期: 暂无
价格&联系人
年费信息
委托购买

摘要:

权利要求书:

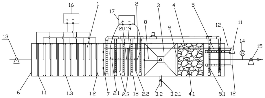
1.一种组合式高浓度含铜废水处理装置,其特征在于,包括依次连接的电沉积池(1)、电絮凝池(2)、沉淀池(3)、吸附池(4)和膜池(5),所述电沉积池(1)内设有若干电沉积阳极板(1.1)和电沉积阴极板(1.2),所述电絮凝池(2)内沿水流方向依次设有电絮凝阳极板(2.1)、感应极板组(2.3)和电絮凝阴极板(2.2),所述沉淀池(3)内设有斜管(3.1)和排泥管(3.2),所述吸附池(4)内设有吸附材料(4.1),所述膜池(5)内设有膜组件(5.1)。

2.根据权利要求1所述的组合式高浓度含铜废水处理装置,其特征在于,所述电沉积池(1)、电絮凝池(2)、沉淀池(3)、吸附池(4)和膜池(5)设置于同一个废水反应处理池(6)中,所述废水反应处理池(6)内设置有4个用于分隔各处理池的隔板,其中,用于分隔所述电沉积池(1)与电絮凝池(2)的隔板的底部设有多个进水口(7),用于分隔所述电絮凝池(2)和沉淀池(3)的隔板上连接有进水管(8),用于分隔所述沉淀池(3)与吸附池(4)的隔板的顶端设有出水槽(9),用于分隔所述吸附池(4)和膜池(5)的隔板的底部安装有滤网(10)。

3.根据权利要求1所述的组合式高浓度含铜废水处理装置,其特征在于,所述装置还包括回流泵(11)和回流管(12),所述回流管(12)的进水端位于膜池(5)内,所述回流管(12)的出水端位于电絮凝池(2)内。

4.根据权利要求1所述的组合式高浓度含铜废水处理装置,其特征在于,所述电沉积池(1)的进水口连接有进水泵(13),所述膜池(5)的出水口依次连接有压力表(14)和出水泵(15)。

5.根据权利要求1所述的组合式高浓度含铜废水处理装置,其特征在于,所述电沉积阳极板(1.1)和电沉积阴极板(1.2)在电沉积池(1)内平行交错排列,所述电沉积阳极板(1.1)的底端与电沉积池(1)的底面之间留有空隙,所述电沉积阴极板(1.2)的顶端低于电沉积池(1)的水面。

6.根据权利要求5所述的组合式高浓度含铜废水处理装置,其特征在于,所述电沉积阳极板(1.1)与直流电源(16)的正极连接,所述电沉积阴极板(1.2)与直流电源(16)的负极连接。

7.根据权利要求1所述的组合式高浓度含铜废水处理装置,其特征在于,所述电絮凝阳极板(2.1)、感应极板组(2.3)和电絮凝阴极板(2.2)交错平行排列且通过多根绝缘螺杆(19)和若干绝缘螺母(20)固定成一个整体。

8.根据权利要求7所述的组合式高浓度含铜废水处理装置,其特征在于,所述电絮凝阳极板(2.1)和电絮凝阴极板(2.2)分别与周期换向电源(17)的正极和负极连接。

9.根据权利要求1所述的组合式高浓度含铜废水处理装置,其特征在于,所述电絮凝池(2)和膜池(5)的底部均设有曝气管(18)。