欢迎来到知嘟嘟! 联系电话:13336804447 卖家免费入驻,海量在线求购! 卖家免费入驻,海量在线求购!
知嘟嘟
我要发布
联系电话:13336804447
知嘟嘟经纪人
收藏
专利号: 2019215174682
申请人: 惠安县易尚手新材料有限公司
专利类型:实用新型
专利状态:已下证
专利领域: 手携物品或旅行品
更新日期:2023-11-27
缴费截止日期: 暂无
价格&联系人
年费信息
委托购买

摘要:

权利要求书:

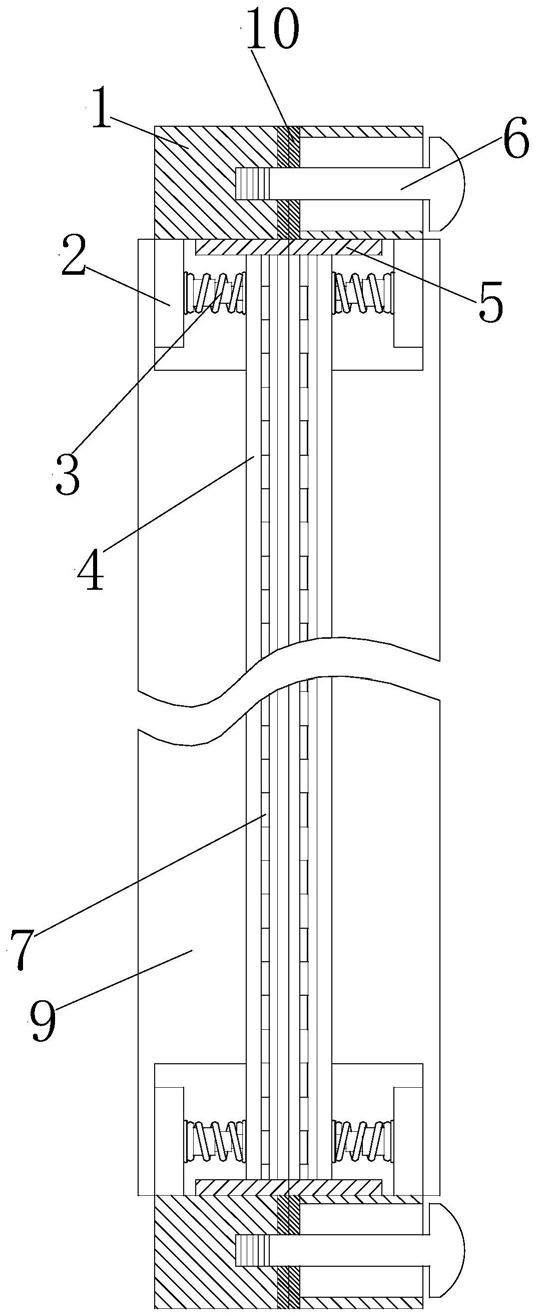
1.一种计算机用外壳保护装置,包括一对结构相同的固定架(1),其特征在于,一对结构相同的固定架(1)上均安装有减震保护结构;

所述减震保护结构,主要包括:一对结构相同的安装板(2)、两对结构相同的减震弹簧(3)、顶板(4)以及橡胶垫圈(5);

一对所述安装板(2)安置于固定架(1)内两侧壁面上,两对所述减震弹簧(3)安置于一对所述安装板(2)上,所述顶板(4)安置于两对所述减震弹簧(3)上,所述橡胶垫圈(5)安置于固定架(1)内侧壁面上,其中一个所述固定架(1)上壁面四角处开设有两对转槽,两对所述转槽内活动安装有两对结构相同的转动销杆(6),另一个所述固定架(1)下壁面四角处开设有与两对所述转动销杆(6)相匹配的插槽。

2.根据权利要求1所述的一种计算机用外壳保护装置,其特征在于,一对所述顶板(4)相对壁面上均安装有海绵层(7):该海绵层(7)用于保护顶板(4)。

3.根据权利要求1所述的一种计算机用外壳保护装置,其特征在于,一对所述固定架(1)上壁面活动安装有一对拉手(8):该拉手(8)便于着力。

4.根据权利要求1所述的一种计算机用外壳保护装置,其特征在于,一对所述顶板(4)两侧壁面上安装有一对泡沫板(9):该泡沫板(9)用于辅助缓冲。

5.根据权利要求1所述的一种计算机用外壳保护装置,其特征在于,一对所述固定架(1)的形状均为正方形。

6.根据权利要求1所述的一种计算机用外壳保护装置,其特征在于,一对所述固定架(1)相对壁面上均安装有密封层(10)。