欢迎来到知嘟嘟! 联系电话:13336804447 卖家免费入驻,海量在线求购! 卖家免费入驻,海量在线求购!
知嘟嘟
我要发布
联系电话:13336804447
知嘟嘟经纪人
收藏
专利号: 2019214683670
申请人: 曹世红
专利类型:实用新型
专利状态:已下证
专利领域: 破碎、磨粉或粉碎;谷物碾磨的预处理
更新日期:2024-12-25
缴费截止日期: 暂无
价格&联系人
年费信息
委托购买

摘要:

权利要求书:

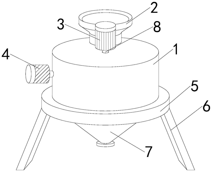
1.一种粉末状化妆品的过筛装置,包括料仓碾压结构和过筛结构,过筛结构固定安装于料仓碾压结构的底部;

其特征在于:料仓碾压结构包括料仓(1)、原料口(2)、第一电机(3)、旋转中轴(8)、碾压盘(9)、辊轴(10)和过筛网(11),原料口(2)开设于料仓(1)顶部一侧的边缘处,第一电机(3)贯通安装于料仓(1)的顶部中心处,旋转中轴(8)销接连接于第一电机(3)的中轴处,碾压盘(9)固定于旋转中轴(8),辊轴(10)套装于旋转中轴(8),过筛网(11)安装于碾压盘(9)的内部;

过筛结构包括第二电机(4)、振动料斗(5)、支柱(6)、收集口(7)、外齿轮(12)、齿条(13)和过筛盘(14),第二电机(4)固定安装于料仓(1)的仓壁外侧,振动料斗(5)套装于料仓(1)的底部,支柱(6)焊接固定于振动料斗(5)的边缘处,收集口(7)固定设置于振动料斗(5)的底部中心处,外齿轮(12)固定安装于第二电机(4)的内部中轴处,齿条(13)固定于碾压盘(9)与过筛盘(14)的外侧,过筛盘(14)套装于碾压盘(9)的底部。

2.根据权利要求1所述的粉末状化妆品的过筛装置,其特征在于:所述过筛网(11)分别安装于碾压盘(9)与过筛盘(14)的内部,且二者内部的过筛网(11)的网格直径一致。

3.根据权利要求1所述的粉末状化妆品的过筛装置,其特征在于:所述齿条(13)分别固定安装于碾压盘(9)的盘底边缘与过筛盘(14)的顶部边缘处。

4.根据权利要求1所述的粉末状化妆品的过筛装置,其特征在于:所述外齿轮(12)与齿条(13)呈配套齿轮传动连接。

5.根据权利要求1所述的粉末状化妆品的过筛装置,其特征在于:所述旋转中轴(8)活动嵌入贯通于碾压盘(9)与过筛盘(14)的中心处,且旋转中轴(8)中间处设置延伸段呈卜字形。

6.根据权利要求1所述的粉末状化妆品的过筛装置,其特征在于:所述辊轴(10)套装于旋转中轴(8)延伸段,且辊轴(10)的长度略短于碾压盘(9)的半径。