欢迎来到知嘟嘟! 联系电话:13336804447 卖家免费入驻,海量在线求购! 卖家免费入驻,海量在线求购!
知嘟嘟
我要发布
联系电话:13336804447
知嘟嘟经纪人
收藏
专利号: 2019213860466
申请人: 浙江亚厦装饰股份有限公司
专利类型:实用新型
专利状态:已下证
专利领域: 建筑物
更新日期:2023-08-24
缴费截止日期: 暂无
价格&联系人
年费信息
委托购买

摘要:

权利要求书:

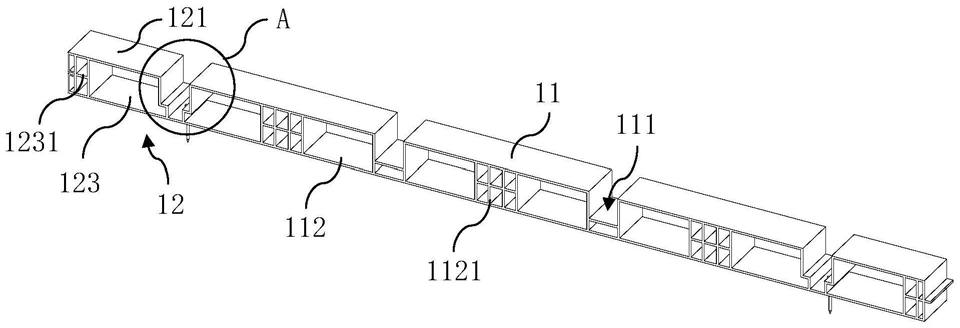
1.一种龙骨组件,其特征在于,包括至少一个龙骨本体、以及设置在所述龙骨本体的至少一端的安装部,所述安装部上设置有与所述龙骨本体延伸方向相同的第一凸起,所述第一凸起与所述龙骨本体之间设置有凹槽,所述第一凸起朝向所述龙骨本体方向的外侧壁上设置有用于支撑地暖水管的第一折弯部,所述龙骨本体上设置有用于铺设所述地暖水管的第一安装槽。

2.如权利要求1所述的龙骨组件,其特征在于,所述龙骨本体的形状为长条形,所述龙骨本体内设置有贯穿所述龙骨本体的宽度方向的相对两侧的第一空腔。

3.如权利要求2所述的龙骨组件,其特征在于,所述第一空腔内设置有第一加强筋。

4.如权利要求2所述的龙骨组件,其特征在于,所述安装部的形状为长条形,所述安装部内设置有贯穿所述安装部的宽度方向的相对两侧的第二空腔。

5.如权利要求4所述的龙骨组件,其特征在于,所述第二空腔内设置有第二加强筋。

6.如权利要求1-5任一项所述的龙骨组件,其特征在于,所述龙骨本体的数量为多个,相邻所述龙骨本体之间设置有所述第一安装槽。

7.如权利要求6所述的龙骨组件,其特征在于,所述龙骨本体朝向所述第一凸起的外侧壁上设置有用于支撑所述地暖水管的第二折弯部,所述第一折弯部和所述第二折弯部形成铺设所述地暖水管的第二安装槽。

8.一种地暖保温板,包括至少一个保温板,其特征在于,还包括如权利要求1-7任一项所述的龙骨组件,所述保温板的侧边与所述龙骨组件的侧边粘接。

9.如权利要求8所述的地暖保温板,其特征在于,每个所述保温板的顶部均开设有至少一个第三安装槽,位于所述龙骨组件上的第一安装槽、第二安装槽、以及位于所述保温板上的所述第三安装槽彼此导通连接形成铺设所述地暖水管的回路。

10.一种地暖系统,包括平衡层,其特征在于,还包括如权利要求8或9所述的地暖保温板,所述平衡层与所述地暖保温板贴合设置。