欢迎来到知嘟嘟! 联系电话:13336804447 卖家免费入驻,海量在线求购! 卖家免费入驻,海量在线求购!
知嘟嘟
我要发布
联系电话:13336804447
知嘟嘟经纪人
收藏
专利号: 2019213769354
申请人: 浙江东新动力有限公司
专利类型:实用新型
专利状态:已下证
专利领域: 测量;测试
更新日期:2023-08-24
缴费截止日期: 暂无
价格&联系人
年费信息
委托购买

摘要:

权利要求书:

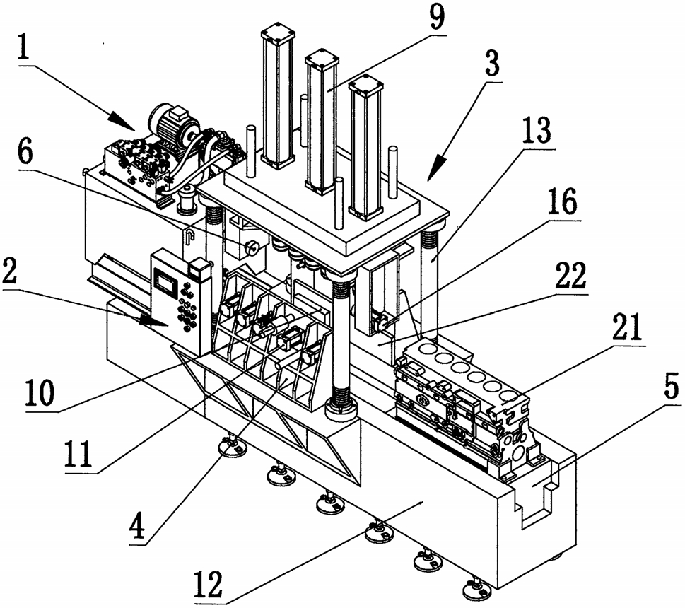
1.柴油发动机机体干式自动检漏机,包括底座(12)、支架(13),其特征在于:在所述底座(12)上装有滑块(5),该滑块(5)与横移控制机构(1)相连,在所述支架(13)上装有升降动力源(9),该升降动力源(9)下通过纵向移动板(14)装有气缸孔锁紧块(15),该气缸孔锁紧块(15)与锁紧动力源(7)相连;在所述纵向移动板(14)的两侧装有水道侧向闷块(6),该水道侧向闷块(6)与侧向闷块动力源(16)相连,在所述底座(12)上、并在滑块(5)的侧边处装有侧架(4),该侧架(4)上装有若干个水道正向闷块(17),所述水道正向闷块(17)与正向闷块动力源(11)相连,且在其中一个水道正向闷块中装有气管(18)。

2.根据权利要求1所述的柴油发动机机体干式自动检漏机,其特征在于:所述正向闷块动力源(11)为正向闷块气缸,该正向闷块气缸与气管(18)相连,所述其中一个水道正向闷块对外连接冷却器封板(10);所述正向闷块动力源(11)、升降动力源(9)、锁紧动力源(7)、侧向闷块动力源(16)、横移控制机构(1)均分别与带压力表的微电脑控制器(2)电连接。

3.根据权利要求1或2所述的柴油发动机机体干式自动检漏机,其特征在于:所述气缸孔锁紧块(15)的外端部套有密封圈(8)。