欢迎来到知嘟嘟! 联系电话:13336804447 卖家免费入驻,海量在线求购! 卖家免费入驻,海量在线求购!
知嘟嘟
我要发布
联系电话:13336804447
知嘟嘟经纪人
收藏
专利号: 2019212504746
申请人: 重庆工程职业技术学院
专利类型:实用新型
专利状态:已下证
专利领域: 土层或岩石的钻进;采矿
更新日期:2025-04-01
缴费截止日期: 暂无
价格&联系人
年费信息
委托购买

摘要:

权利要求书:

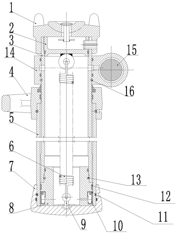
1.一种单体液压支柱,包括三用阀(15)、缸体(5)、复位弹簧(6)、滑动配合在缸体(5)内的活塞(8),以及与活塞(8)固定连接并构成液压举升支柱的活柱体(3),活柱体(3)呈顶端封闭的筒状结构;所述活塞(8)中部设有通孔,该通孔与活柱体(3)内部空腔连通,所述活塞(8)上安装有密封圈(10),所述密封圈(10)的外壁面与缸体(5)内壁面形成滑动密封连接;

其特征在于,所述密封圈(10)呈环形空腔结构,所述密封圈(10)的密封面上开设有储液槽(17);所述密封圈(10)的内壁面上开设有注液通孔(18),所述注液通孔(18)与所述密封圈(10)的空腔相通;所述活塞(8)上开设有流体通道,该流体通道与缸体(5)的内部空间连通。

2.根据权利要求1所述的单体液压支柱,其特征在于,所述储液槽(17)呈环形,或沿周向分布的至少一个“∞”形。

3.根据权利要求2所述的单体液压支柱,其特征在于,当储液槽(17)呈环形时,所述储液槽(17)的分布形状为直线、波纹线或折线。

4.根据权利要求2所述的单体液压支柱,其特征在于,当储液槽(17)为多个“∞”形时,所述储液槽(17)的两个相邻“∞”形贯通。

5.根据权利要求1所述的单体液压支柱,其特征在于,所述储液槽(17)的截面为弧形、V形、矩形、水滴形或U形。

6.根据权利要求1所述的单体液压支柱,其特征在于,所述密封圈(10)高度方向的至少一端设有一增强挡圈(11)。

7.根据权利要求1-6任一所述的单体液压支柱,其特征在于,所述三用阀(15)固定设置在所述活柱体(3)的上端,所述活柱体(3)的顶部通过密封盖(2)形成顶盖封闭结构;所述活塞(8)与所述活柱体(3)呈轴孔配合连接结构,且活柱体(3)内壁与所述活塞(8)配合外周的配合段之间设有钢丝挡圈(13),钢丝挡圈(13)用于形成活塞(8)与活柱体(3)的轴向位置限定;所述缸体(5)下端固定连接有底座(7),所述底座(7)包围在所述缸体(5)下端外周;所述复位弹簧(6)的一端固定在所述密封盖(2)的下端,另一端通过复位弹簧接板(9)固定在底座(7)上。

8.根据权利要求7所述的单体液压支柱,其特征在于,所述三用阀(15)设置在三用阀阀座(14)上,所述三用阀阀座(14)固套在所述活柱体(3)上,所述三用阀阀座(14)与所述活柱体(3)之间有阀座密封圈(16)。

9.根据权利要求7所述的单体液压支柱,其特征在于,所述活柱体(3)上开设有贯穿型通孔,所述三用阀(15)通过所述贯穿型通孔固定安装在所述活柱体(3)上。

10.根据权利要求7所述的单体液压支柱,其特征在于,在所述缸体(5)的缸口固套有手把体(4),所述活柱体(3)穿过所述手把体(4)的顶端连接有柱帽(1),且所述柱帽(1)与所述密封盖(2)上端抵接。