欢迎来到知嘟嘟! 联系电话:13336804447 卖家免费入驻,海量在线求购! 卖家免费入驻,海量在线求购!
知嘟嘟
我要发布
联系电话:13336804447
知嘟嘟经纪人
收藏
专利号: 2019211865380
申请人: 苏州琦少工程科技有限公司
专利类型:实用新型
专利状态:已下证
专利领域: 道路、铁路或桥梁的建筑
更新日期:2024-02-28
缴费截止日期: 暂无
价格&联系人
年费信息
委托购买

摘要:

权利要求书:

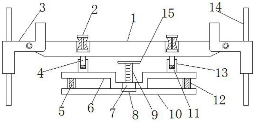
1.一种无砟轨道排架设备,包括排架(1)和托板(6),其特征在于:所述排架(1)左右两端部活动铰接有角度调整器(3),所述角度调整器(3)上竖直活动贯穿有竖向螺栓(14),所述排架(1)上部竖向搭接有竖向对称分布的轨道(2),所述排架(1)底部垂直焊接有定位杆(4),所述托板(6)顶部左右两侧均垂直固定焊接有限位筒(13),所述限位筒(13)与所述定位杆(4)活动插接,所述托板(6)中部竖直开设有螺纹孔(7),所述螺纹孔(7)内竖直向下螺纹贯穿有螺纹丝杆(9),所述螺纹丝杆(9)下端与固定嵌入在底板(10)顶部的轴承(8)的中轴固定插接,且轴承(8)位于所述底板(10)上部中间位置,所述底板(10)顶部左右两侧均垂直焊接有套筒(12)。

2.根据权利要求1所述的一种无砟轨道排架设备,其特征在于:两个所述定位杆(4)与两列所述轨道(2)一一竖直对齐设置。

3.根据权利要求1所述的一种无砟轨道排架设备,其特征在于:所述限位筒(13)内腔设有橡胶座(11)。

4.根据权利要求1所述的一种无砟轨道排架设备,其特征在于:所述螺纹丝杆(9)上端水平固定连接有手轮(15)。

5.根据权利要求1所述的一种无砟轨道排架设备,其特征在于:所述托板(6)底部左右两侧均垂直焊接有与套筒(12)适配插接的活动杆(5),所述底板(10)、托板(6)和所述排架(1)的宽幅相等。