欢迎来到知嘟嘟! 联系电话:13336804447 卖家免费入驻,海量在线求购! 卖家免费入驻,海量在线求购!
知嘟嘟
我要发布
联系电话:13336804447
知嘟嘟经纪人
收藏
专利号: 2019209026753
申请人: 广州市企通信息科技有限公司
专利类型:实用新型
专利状态:已下证
专利领域: 测量;测试
更新日期:2025-05-13
缴费截止日期: 暂无
价格&联系人
年费信息
委托购买

摘要:

权利要求书:

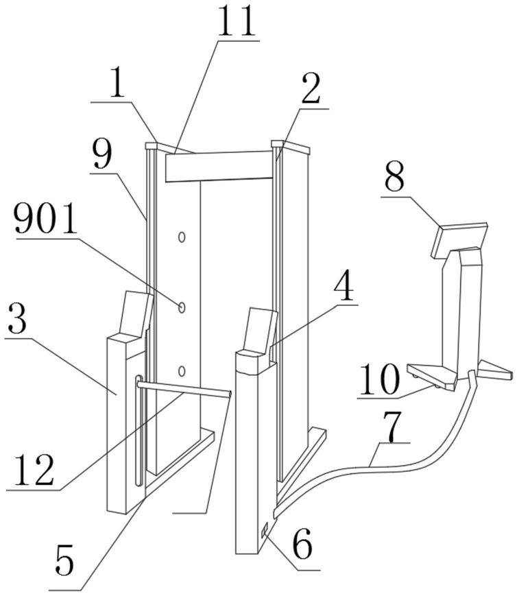
1.一种智能轨道交通设备,包括智能安检系统(1),其特征在于,所述智能安检系统(1)的上端设置有主机箱(11),所述主机箱(11)的两端安装有两个门板(9),两个所述门板(9)的内侧端均设置有红外线探头(901),所述智能安检系统(1)的一侧端设置有控制面板(8),所述控制面板(8)的底端安装有万向轮(10),所述智能安检系统(1)与控制面板(8)之间连接有USB连接线(7),两个所述门板(9)的下端均安装有底座(5),且两个门板(9)的侧端均设置有区位灯(2)。

2.根据权利要求1所述的一种智能轨道交通设备,其特征在于,所述门板(9)的一侧设置有第一液晶显示屏(3),所述第一液晶显示屏(3)的下端设置有金属感应杆(12),且第一液晶显示屏(3)的一侧设置有第二液晶显示屏(4),所述第二液晶显示屏(4)的下端一侧设置有控制开关(6)。

3.根据权利要求2所述的一种智能轨道交通设备,其特征在于,所述第一液晶显示屏(3)的前端设置有第一显示屏(303),所述第一显示屏(303)的下端设置有进票口(302),所述第一液晶显示屏(3)的上端设置有出票口(301),所述第二液晶显示屏(4)的前端设置有第二显示屏(401),所述第二显示屏(401)的上端安装有摄像头(402),且第二显示屏(401)的下端安装有磁卡感应器(403)。

4.根据权利要求3所述的一种智能轨道交通设备,其特征在于,所述出票口(301)与进票口(302)贯通连接,所述第二显示屏(401)与磁卡感应器(403)电连接,所述摄像头(402)与第二显示屏(401)电连接。

5.根据权利要求1所述的一种智能轨道交通设备,其特征在于,所述主机箱(11)与区位灯(2)电连接,所述主机箱(11)的内侧设置有红外线探头(901),且主机箱(11)与红外线探头(901)电连接。

6.根据权利要求2所述的一种智能轨道交通设备,其特征在于,所述控制开关(6)与第一液晶显示屏(3)、第二液晶显示屏(4)电连接,所述门板(9)为不锈钢材质构件,所述金属感应杆(12)与第一液晶显示屏(3)通过万向轴连接。

7.根据权利要求1所述的一种智能轨道交通设备,其特征在于,所述控制面板(8)与智能安检系统(1)通过USB连接线(7)电连接,所述万向轮(10)为硬质橡胶材质构件。