欢迎来到知嘟嘟! 联系电话:13336804447 卖家免费入驻,海量在线求购! 卖家免费入驻,海量在线求购!
知嘟嘟
我要发布
联系电话:13336804447
知嘟嘟经纪人
收藏
专利号: 2019208908840
申请人: 衢州职业技术学院
专利类型:实用新型
专利状态:已下证
专利领域: 医学或兽医学;卫生学
更新日期:2023-08-24
缴费截止日期: 暂无
价格&联系人
年费信息
委托购买

摘要:

权利要求书:

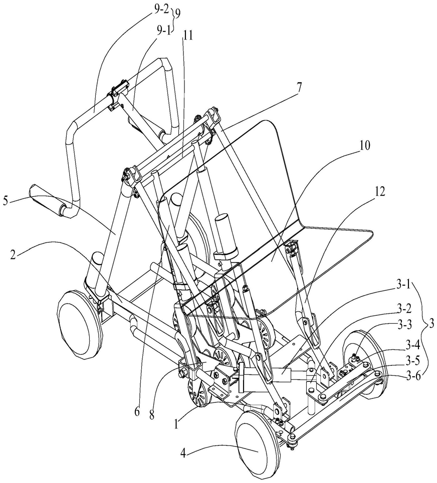
1.一种帮扶助行跟随器,其特征在于:包括主车架(1)、调节车架(2)、驱动转向机构(3)、转动轮(4)、两根第一伸缩调节杆(5)、两根第二伸缩调节杆(6)、两根摆动杆(7);

所述主车架(1)的后端与所述调节车架(2)的前端相互铰接,在主车架(1)的前端两侧和调节车架(2)的后端两侧分别安装有转动轮(4);

两根第一伸缩调节杆(5)的底部分别铰接所述调节车架(2)的后端上;

两根所述摆动杆(7)的底部分别铰接在所述主车架(1)的前端;

在位于所述主车架后端的第一横杆上分别套设有两个三角轮(8),两个所述三角轮(8)分别靠近所述第一横杆的两端;

两根第二伸缩调节杆(6)的底部铰接在所述主车架后端的第一横杆上,两根第二伸缩调节杆(6)分别与对应一侧的三角轮(8)相邻;

在两根第一伸缩调节杆(5)的壳体之间固接有手扶支架(9);

在两根所述第一伸缩调节杆(5)的壳体之间安装有支撑杆(11),两根所述第二伸缩调节杆(6)的伸缩端分别铰接在所述支撑杆(11)上;

所述第一伸缩调节杆(5)的伸缩端分别与对应一侧的摆动杆(7)的顶端铰接;

在两根所述摆动杆(7)之间铰接有座椅(10),在所述主车架(1)上安装有驱动转向机构(3),该驱动转向机构(3)用于驱动所述主车架(1)上的转动轮(4)转向。

2.根据权利要求1所述帮扶助行跟随器,其特征在于:所述驱动转向机构(3)包括驱动装置(3-1)、铰接杆(3-2)、转动部件(3-3)、两根第一连杆(3-4)、第二连杆(3-5)和传动杆(3-6);

在所述主车架(1)的前端第二横杆两端分别安装有铰接座,所述转动部件(3-3)与所述铰接座铰接,所述转动轮(4)安装在所述转动部件(3-3)上;

所述驱动装置(3-1)安装在所述主车架(1)上,所述铰接杆(3-2)的中部铰接在所述主车架(1)前端第二横杆上;

每个所述转动部件(3-3)固定与所述第一连杆(3-4)的一端相连,在两个所述第一连杆(3-4)的自由端之间安装有所述传动杆(3-6),该传动杆(3-6)的两端分别与对应一侧的所述第一连杆(3-4)的自由端铰接;

所述驱动装置(3-1)的输出端与所述铰接杆(3-2)的一端铰接,所述铰接杆(3-2)的自由端与所述第二连杆(3-5)的一端相连,该第二连杆(3-5)的自由端铰接在其中一根所述第一连杆(3-4)上。

3.根据权利要求1所述帮扶助行跟随器,其特征在于:所述手扶支架(9)包括T型杆(9-

1)和U型杆(9-2),所述T型杆(9-1)的横杆两端分别固定连接在两根所述第一伸缩调节杆(5)的壳体上;

所述T型杆(9-1)的竖杆的端部与所述U型杆(9-2)的中部相连,所述U型杆(9-2)的两端分别向同一方向弯折。

4.根据权利要求1所述帮扶助行跟随器,其特征在于:在所述第二伸缩调节杆(6)底部固定连接在U型架上,该U型架铰接在所述主车架后端的第一横杆上,所述三角轮(8)位于所述U型架内。

5.根据权利要求1所述帮扶助行跟随器,其特征在于:在所述两根所述摆动杆(7)的下段分别铰接有第一调节杆(12),该第一调节杆(12)的伸缩端与座椅(10)底部铰接。