欢迎来到知嘟嘟! 联系电话:13336804447 卖家免费入驻,海量在线求购! 卖家免费入驻,海量在线求购!
知嘟嘟
我要发布
联系电话:13336804447
知嘟嘟经纪人
收藏
专利号: 2019208820327
申请人: 无锡新微阳科技有限公司
专利类型:实用新型
专利状态:已下证
专利领域: 其他类目不包含的电技术
更新日期:2024-08-20
缴费截止日期: 暂无
价格&联系人
年费信息
委托购买

摘要:

权利要求书:

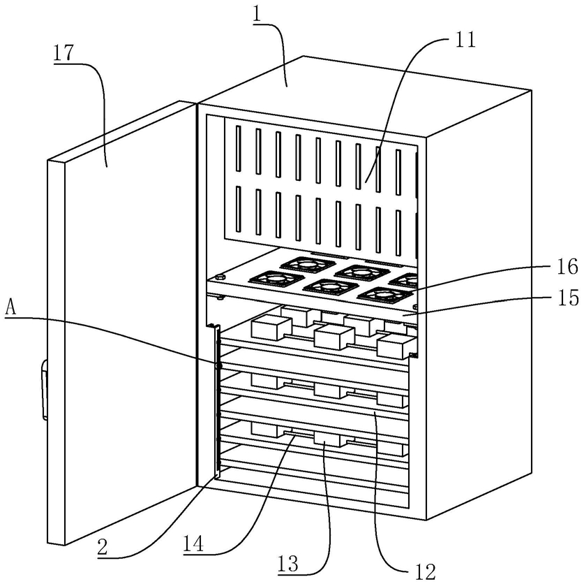
1.一种结构紧凑的测试机,包括箱体(1),其特征在于:所述箱体(1)内位于箱体(1)顶部设有电路模块(11),所述箱体(1)内还设有多个隔板(12),多个所述隔板(12)上方设有多个电源(13),多个所述电源(13)与电路模块(11)通过传输线(14)连接,所述多个隔板(12)顶部设有支撑板(15),所述支撑板(15)顶部设有散热风扇(16),所述箱体(1)内靠近箱门(17)一侧关于箱门(17)对称设有两个支撑架(2),所述箱体(1)内远离箱门(17)一侧对称设有两个固定架(3),所述隔板(12)安装在支撑架(2)上,所述隔板(12)与支撑架(2)之间设有调节组件(4)。

2.根据权利要求1所述的一种结构紧凑的测试机,其特征在于:所述调节组件(4)包括设置在开设在支撑架(2)靠近固定架(3)一侧侧壁上的导向槽(401)、设置在隔板(12)侧壁上与导向槽(401)配合的滑块(402)、设置在固定架(3)靠近支撑一侧的固定块(403),所述固定块(403)沿支撑架(2)长度方向设有多个,所述隔板(12)底部抵触在固定块(403)上。

3.根据权利要求2所述的一种结构紧凑的测试机,其特征在于:所述导向槽(401)内设有穿设在滑块(402)上的锁紧销(5),所述锁紧销(5)穿设在支撑架(2)上与导向槽(401)垂直一侧的侧壁上。

4.根据权利要求3所述的一种结构紧凑的测试机,其特征在于:所述锁紧销(5)滑动连接在支撑架(2)侧壁上,所述导向槽(401)远离锁紧销(5)一侧的侧壁上沿导向槽(401)长度方向设有多个锁紧孔(4011)。

5.根据权利要求3所述的一种结构紧凑的测试机,其特征在于:所述锁紧销(5)上套设有抵触环(51),所述抵触环(51)抵触在导向槽(401)内侧壁上。

6.根据权利要求5所述的一种结构紧凑的测试机,其特征在于:所述锁紧销(5)上套设有弹簧(52),所述弹簧(52)一端固定连接在抵触环(51)上,所述弹簧(52)另一端固定连接在滑块(402)侧壁上。

7.根据权利要求3所述的一种结构紧凑的测试机,其特征在于:所述锁紧销(5)上套设有抵触板(53),所述抵触板(53)抵触在支撑架(2)外侧壁上。

8.根据权利要求7所述的一种结构紧凑的测试机,其特征在于:所述支撑架(2)侧壁上沿支撑架(2)长度方向设有导轨(531),所述抵触板(53)滑动连接在导轨(531)上。