欢迎来到知嘟嘟! 联系电话:13336804447 卖家免费入驻,海量在线求购! 卖家免费入驻,海量在线求购!
知嘟嘟
我要发布
联系电话:13336804447
知嘟嘟经纪人
收藏
专利号: 2019208754560
申请人: 宁波职业技术学院
专利类型:实用新型
专利状态:已下证
专利领域: 输送;包装;贮存;搬运薄的或细丝状材料
更新日期:2023-08-24
缴费截止日期: 暂无
价格&联系人
年费信息
委托购买

摘要:

权利要求书:

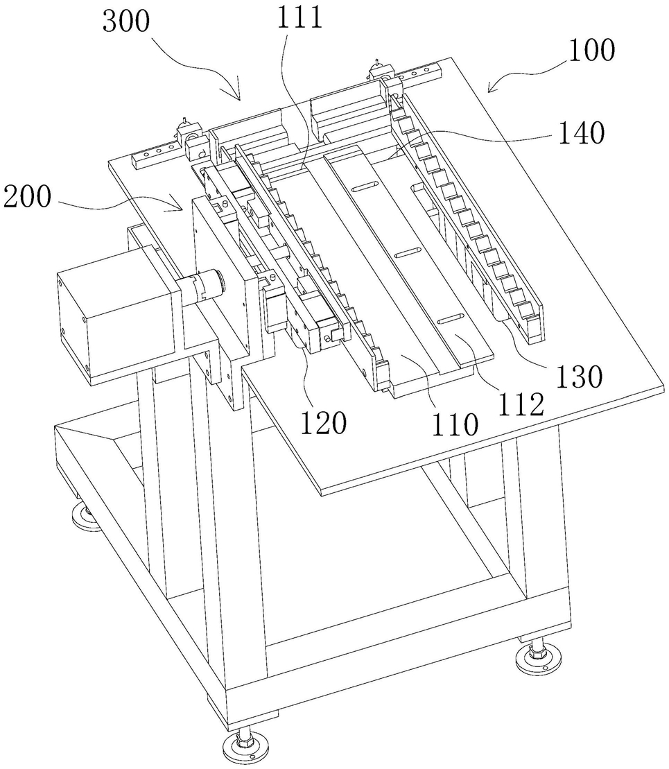
1.一种轴类零件送料机,其特征在于,包括:

工作台,其中部设置有托料板,所述托料板两侧的工作台分别设置有第一移动开口和第二移动开口;

传输机构,其具有可沿中心转动的曲柄和偏心连接于曲柄的导杆,所述导杆的中部外侧套置有轨迹板,所述轨迹板具有轨迹开口,所述导杆一端偏心连接于曲柄且另一端固定有连接板,所述连接板设置连接有第一安装座,所述第一安装座上安装有第一限位槽,所述连接板底部设置有联动杆,所述联动杆两端分别向下穿过一侧的第一移动开口再横向设置于工作台下方,最后向上转折从另一侧的第二移动开口内向上穿出,所述联动杆向上穿出第二移动开口的一端设置有第二安装座,所述第二安装座上安装有第二限位槽;

定位机构,其设置于工作台上,所述定位机构设置于托料板的进料方向处,所述定位机构具有固定定位块和移动定位块,所述固定定位块和移动定位块之间构成定位空间。

2.根据权利要求1所述的一种轴类零件送料机,其特征在于,所述工作台侧面上固定有固定板,所述固定板连接有电机,所述电机具有穿过固定板的电机杆,所述电机杆穿过固定板的一端连接于曲柄中心。

3.根据权利要求2所述的一种轴类零件送料机,其特征在于,所述固定板在靠近轨迹板的一侧面上分别设置有两个纵向滑轨,所述轨迹板在靠近固定板的一侧面上分别设置有两个纵向滑块。

4.根据权利要求1所述的一种轴类零件送料机,其特征在于,所述轨迹板在靠近连接板的一侧面上分别设置有两个横向滑块,所述连接板在靠近轨迹板的一侧面上分别设置有两个横向滑轨。

5.根据权利要求1所述的一种轴类零件送料机,其特征在于,所述第一限位槽和第二限位槽分别设置有若干个三角限位齿。

6.根据权利要求1所述的一种轴类零件送料机,其特征在于,所述托料板靠近定位机构的一端设置为斜向下的下料斜面。

7.根据权利要求1所述的一种轴类零件送料机,其特征在于,所述托料板上在靠近第二限位槽处设置有移动调节板。

8.根据权利要求1所述的一种轴类零件送料机,其特征在于,所述定位空间两侧的固定定位块和移动定位块分别设置有第一导向面和第二导向面,所述定位空间设置为V字形。

9.根据权利要求1所述的一种轴类零件送料机,其特征在于,所述移动定位块的侧面上连接有两个移动调节块,所述移动调节块一侧的工作台上设置有固定调节块,所述固定调节块上穿设有调节螺栓,所述调节螺栓的尾端可转动连接于移动调节块。

10.根据权利要求2所述的一种轴类零件送料机,其特征在于,所述托料板和固定移动块之间的工作台具有限料开口,所述限料开口内穿设有可上下移动的下料输送板,所述下料输送板顶部设置有导向斜面,所述导向斜面斜向下设置且朝向固定移动块一侧,所述下料输送板底部设置有转折板,所述转折板上连接有电动推杆,所述工作台下方固定有定位板,所述电动推杆底部固定于定位板上,所述固定板上固定有导向杆,所述导向杆顶端穿设于转折板。