欢迎来到知嘟嘟! 联系电话:13336804447 卖家免费入驻,海量在线求购! 卖家免费入驻,海量在线求购!
知嘟嘟
我要发布
联系电话:13336804447
知嘟嘟经纪人
收藏
专利号: 2019208413621
申请人: 无锡世百德微电子有限公司
专利类型:实用新型
专利状态:已下证
专利领域: 将固体从固体中分离;分选
更新日期:2024-02-23
缴费截止日期: 暂无
价格&联系人
年费信息
委托购买

摘要:

权利要求书:

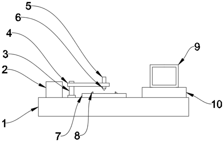
1.一种半导体自动筛选设备,包括底座(1)和NNF-D5M1-W150红外光接收设备(20),其特征在于:所述底座(1)上端的一侧设置有蓄电池(2),所述蓄电池(2)的一侧设置有二号滑道(12),所述二号滑道(12)的内部设置有伸缩杆(3),所述伸缩杆(3)的上端设置有支撑杆(4),所述支撑杆(4)的内部设置有三号滑道(13),所述三号滑道(13)的内部设置有探针(5),所述探针(5)下端的一侧设置有NNF-D5M1-W150红外光传感器(6),所述探针(5)的下端设置有卡块(8),所述卡块(8)的下端设置有探测台(7),所述探测台(7)的内部设置有一号滑道(11),所述探测台(7)的一侧设置有显示屏底座(10),所述显示屏底座(10)的上端设置有LED显示屏(9)。

2.根据权利要求1所述的一种半导体自动筛选设备,其特征在于:所述NNF-D5M1-W150红外光传感器(6)包括透射式光学系统(14),所述透射式光学系统(14)的输出端与HW-KPDE030-46红外光电二极管(17)的输入端连接,所述HW-KPDE030-46红外光电二极管(17)的输入端与NTC-MF52AT热敏电阻(15)的输出端连接,所述HW-KPDE030-46红外光电二极管(17)的输入端与模拟数字转换器(16)的输出端连接,所述HW-KPDE030-46红外光电二极管(17)的输出端与3mm平头光敏二极管(18)的输入端连接,所述3mm平头光敏二极管(18)的输出端与SL0038T红外线一体化接收头(19)的输入端连接。

3.根据权利要求1所述的一种半导体自动筛选设备,其特征在于:所述卡块(8)与探测台(7)通过一号滑道(11)连接,所述伸缩杆(3)与底座(1)通过二号滑道(12)连接,所述探针(5)与支撑杆(4)通过三号滑道(13)连接。

4.根据权利要求1所述的一种半导体自动筛选设备,其特征在于:所述LED显示屏(9)与显示屏底座(10)固定连接,所述显示屏底座(10)与底座(1)固定连接。

5.根据权利要求1所述的一种半导体自动筛选设备,其特征在于:所述探针(5)与NNF-D5M1-W150红外光传感器(6)电性连接。

6.根据权利要求1所述的一种半导体自动筛选设备,其特征在于:所述卡块(8)的一侧设置有海绵层,且海绵层与卡块(8)粘贴连接。