欢迎来到知嘟嘟! 联系电话:13336804447 卖家免费入驻,海量在线求购! 卖家免费入驻,海量在线求购!
知嘟嘟
我要发布
联系电话:13336804447
知嘟嘟经纪人
收藏
专利号: 2019207102201
申请人: 浙江师范大学
专利类型:实用新型
专利状态:已下证
专利领域: 测量;测试
更新日期:2023-08-24
缴费截止日期: 暂无
价格&联系人
年费信息
委托购买

摘要:

权利要求书:

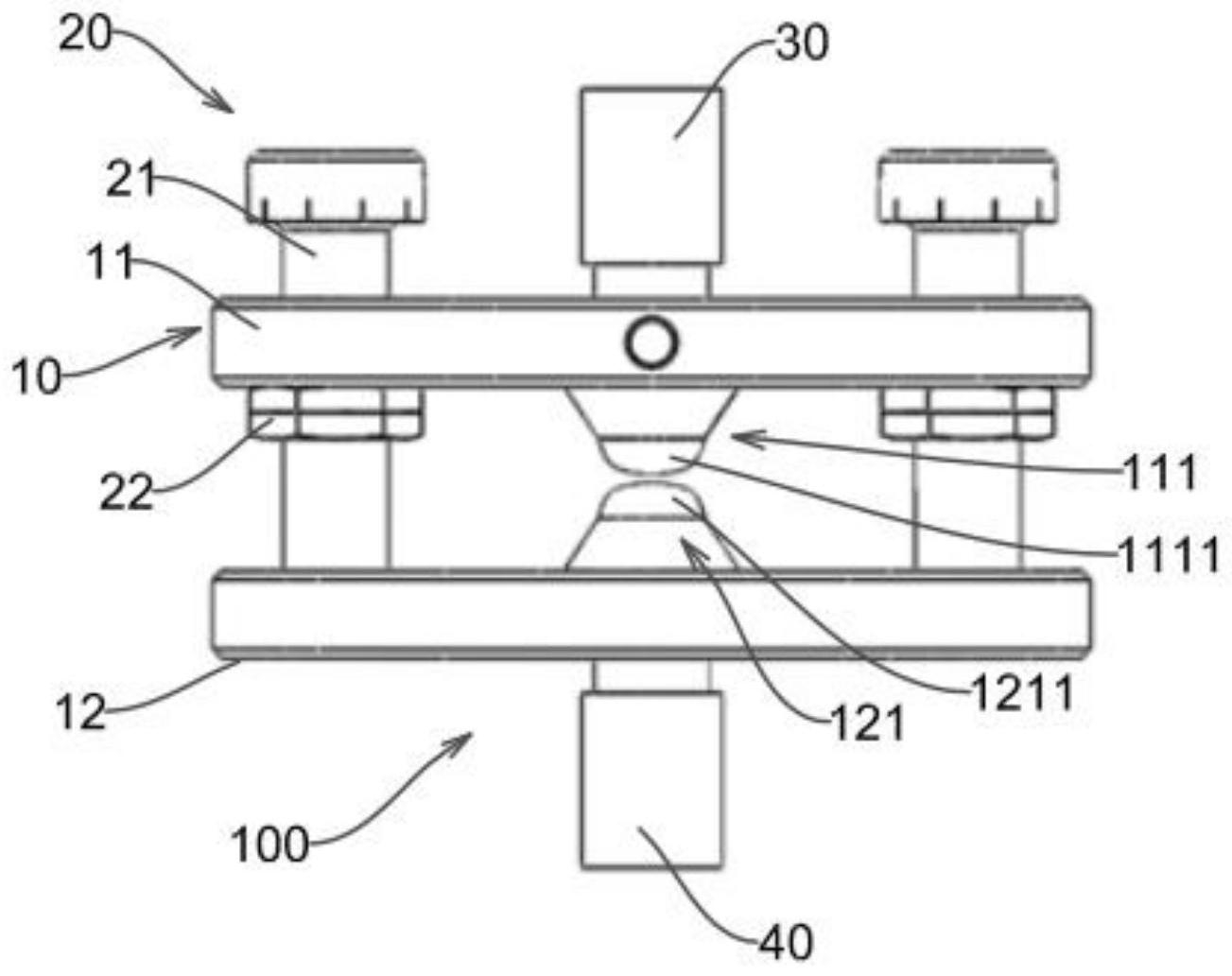
1.一种试样压制机构,其特征在于,包括压盘组件(10)及调节组件(20),所述压盘组件(10)包括第一压盘(11)以及面向所述第一压盘(11)的第二压盘(12),所述调节组件(20)连接于所述第一压盘(11)及第二压盘(12)上,并能够调节所述第一压盘(11)与第二压盘(12)之间的压制距离。2.如权利要求1所述的试样压制机构,其特征在于,所述第一压盘(11)形成有第一挤压件(111),所述第一挤压件(111)朝向所述第二压盘(12)设置并形成有第一挤压部(1111),所述第一挤压部(1111)具有弧形表面;及/或,所述第二压盘(12)形成有第二挤压件(121),所述第二挤压件(121)朝向所述第一压盘(11)设置并形成有第二挤压部(1211),所述第二挤压部(1211)具有弧形表面。3.如权利要求1所述的试样压制机构,其特征在于,所述试样压制机构(100)设置有第一连接柱(30),所述第一连接柱(30)连接于所述第一压盘(11)背向所述第二压盘(12)的一侧。4.如权利要求1所述的试样压制机构,其特征在于,所述第一压盘(11)面向所述第二压盘(12)的一侧开设有至少一个放置孔(13)。5.如权利要求4所述的试样压制机构,其特征在于,所述第一压盘(11)的侧壁开设有至少一个固定孔(14),所述固定孔(14)与所述放置孔(13)相连通。6.如权利要求1所述的试样压制机构,其特征在于,所述调节组件(20)包括调节杆(21)及调节螺母(22),所述调节杆(21)的底部穿过所述第一压盘(11)并与所述第二压盘(12)相抵接;所述调节螺母(22)螺接于所述调节杆(21)并与所述第一压盘(11)相抵接。7.如权利要求1所述的试样压制机构,其特征在于,所述试样压制机构(100)设置有第二连接柱(40),所述第二连接柱(40)连接于所述第二压盘(12)背向所述第一压盘(11)的一侧。8.一种用于测试沥青-集料界面粘结性能的装置,其特征在于,所述用于测试沥青-集料界面粘结性能的装置(200)设置有权利要求1-7任一项所述的试样压制机构(100)。9.如权利要求8所述的用于测试沥青-集料界面粘结性能的装置,其特征在于,所述用于测试沥青-集5料界面粘结性能的装置(200)包括活动轴(201)、固定平台(202)及测试壳体(203),所述活动轴(201)连接于第一压盘(11);所述固定平台连接于第二压盘(12);所述活动轴(201)、固定平台(202)及试样压制机构(100)均设置于所述测试壳体(203)内。10.如权利要求9所述的用于测试沥青-集料界面粘结性能的装置,其特征在于,所述用于测试沥青-集料界面粘结性能的装置(200)包括传感件(204),所述传感件(204)设置于所述第一压盘;及/或,所述用于测试沥青-集料界面粘结性能的装置(200)包括控温模组(205),所述控温模组(205)设置于所述测试壳体(203)。