欢迎来到知嘟嘟! 联系电话:13336804447 卖家免费入驻,海量在线求购! 卖家免费入驻,海量在线求购!
知嘟嘟
我要发布
联系电话:13336804447
知嘟嘟经纪人
收藏
专利号: 2019206101428
申请人: 合肥金科塑印有限公司
专利类型:实用新型
专利状态:已下证
专利领域: 装订;图册;文件夹;特种印刷品
更新日期:2024-07-03
缴费截止日期: 暂无
价格&联系人
年费信息
委托购买

摘要:

权利要求书:

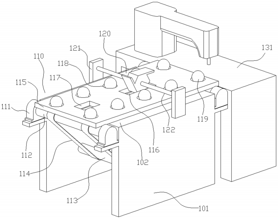
1.一种用于纸张锁线装订的切线机构,其特征在于:包括机架,机架包括两块平行设置的支撑板(101),机架上设有工作台(102);工作台(102)的两侧且位于支撑板(101)上设有升降块(121),升降块(121)之间设有第二转动杆(122),第二转动杆(122)上可转动地设有截面呈正六边形的转动块(511),转动块(511)间隔的侧面上均沿各自侧面的延伸方向设有安装槽(512);安装槽(512)内通过螺栓连接有沿安装槽(512)延伸方向设置的安装板(521),安装板(521)间隔设置且安装板(521)的端部与对应的转动块(511)间隔侧面相齐平,安安装板(521)的远离安装槽(512)的端部处设有刀片安装槽(522),刀片安装槽(522)内设有部分伸出刀片安装槽(522)的刀片(531),刀片安装槽(522)内通过螺栓连接有用于挤压刀片(531)的挤压板(532)。

2.根据权利要求1所述的一种用于纸张锁线装订的切线机构,其特征在于:两个升降块(121)相对的侧面上均设有第二升降槽(611),第二升降槽(611)的底壁上沿升降块(121)的高度方向设有呈T型的滑槽(612),第二升降槽(611)内设有用于固定第二转动杆(122)一端的固定块(621),固定块(621)的侧面上设有与滑槽(612)相配合的滑轨(622);升降块(121)的上端面上设有第二转动槽(613),第二转动槽(613)的底壁上设有连通第二升降槽(611)的通孔(614),第二转动槽(613)内可转动地设有转动柱(711),转动柱(711)内设有空腔(712),空腔(712)内螺纹连接有穿过通孔(614)设置的转动杆(721),转动杆(721)的底端与固定块(621)的上侧面固定相连。

3.根据权利要求2所述的一种用于纸张锁线装订的切线机构,其特征在于:第二转动杆(122)上螺纹连接有分别位于转动块(511)两侧的挡环(541)。

4.根据权利要求3所述的一种用于纸张锁线装订的切线机构,其特征在于:刀片安装槽(522)的底壁上且位于安装板(521)的端部处设有呈倾斜状的第三凹槽(811),刀片(531)伸入第三凹槽(811)处且呈倾斜设置。

5.根据权利要求4所述的一种用于纸张锁线装订的切线机构,其特征在于:第二转动槽(613)内设有一第二轴承,转动柱(711)的外侧面与第二轴承的内圈相连。