欢迎来到知嘟嘟! 联系电话:13095918853 卖家免费入驻,海量在线求购! 卖家免费入驻,海量在线求购!
知嘟嘟
我要发布
联系电话:13095918853
知嘟嘟经纪人
收藏
专利号: 2019205324325
申请人: 济宁利民渔业专业合作社
专利类型:实用新型
专利状态:已下证
专利领域: 农业;林业;畜牧业;狩猎;诱捕;捕鱼
更新日期:2024-05-23
缴费截止日期: 暂无
价格&联系人
年费信息
委托购买

摘要:

权利要求书:

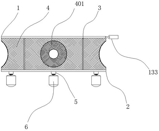
1.一种稻田养殖甲鱼诱捕器,其特征在于:包括上板件和下板件,所述上板件和下板件之间焊接有多根连杆,多根所述连杆呈等角度设置,所述连杆的长度为10 25cm,在所述上~板件和下板件之间胶合固定有一层编织网,所述编织网为尼龙绳编制而成,所述连杆限位在所述编织网的内侧,所述编织网的外侧设置有多个网罩,所述网罩贯通所述编织网,所述网罩向着内侧锥形缩小,在所述下板件的底部环形设置有多个连接部,通过所述连接部螺纹连接有漂浮瓶,在所述上板件的顶部设置有一阶梯孔,通过所述阶梯孔装配有一盖板,所述盖板与所述上板件之间装配有合页,所述盖板可沿着所述合页翻转打开,所述盖板的顶部设置有一锁套,在所述上板件的顶部安装有对应所述锁套的第一锁套,通过所述锁套装配有一锁杆,所述锁杆上加工有挡圈,在所述锁杆上套设有弹簧,所述弹簧相抵在所述挡圈与所述锁套之间,在所述弹簧的作用下,所述锁杆向左侧移动后插入至所述第一锁套内,所述锁杆的右端装配有一拉环,该拉环穿过所述锁杆。

2.根据权利要求1所述的稻田养殖甲鱼诱捕器,其特征在于:所述上板件和下板件均为不锈钢材质,厚度为2mm 2.5mm。

~

3.根据权利要求1所述的稻田养殖甲鱼诱捕器,其特征在于:在所述盖板的顶部加工有一通孔,在所述盖板的底部,在对应所述通孔位置处焊接有一金属网兜,在所述通孔内扣入有活动板,所述活动板封闭所述通孔。

4.根据权利要求1所述的稻田养殖甲鱼诱捕器,其特征在于:在所述上板件的外壁处焊接有一穿绳环。

5.根据权利要求1所述的稻田养殖甲鱼诱捕器,其特征在于:所述漂浮瓶为塑料材质,单个漂浮瓶的容积为2 10L。

~

我要求购
我不想找了,帮我找吧
您有专利需要变现?
我要出售
智能匹配需求,快速出售