欢迎来到知嘟嘟! 联系电话:13336804447 卖家免费入驻,海量在线求购! 卖家免费入驻,海量在线求购!
知嘟嘟
我要发布
联系电话:13336804447
知嘟嘟经纪人
收藏
专利号: 2019205053624
申请人: 嘉兴学院
专利类型:实用新型
专利状态:已下证
专利领域: 测量;测试
更新日期:2023-08-24
缴费截止日期: 暂无
价格&联系人
年费信息
委托购买

摘要:

权利要求书:

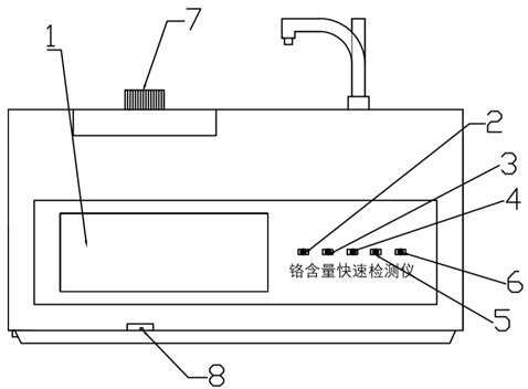
1.一种铬鞣废液三价铬含量的快速测定仪,其特征在于:包括液体吸光度定值检测模块、电路及控制模块、液体管路及输送模块;

所述液体吸光度定值检测模块包括比色皿,所述比色皿的左侧设置有可见光发射器,所述比色皿的右侧设置有光源检测器,所述光源检测器靠近所述比色皿的一端设置有遮光盖,所述比色皿采用一进二出式结构,所述比色皿的底端设置有一个进口和一个出口,所述比色皿的顶部设置有一个出口,所述比色皿的周围设置有超声波发射器;

所述电路及控制模块包括单片机、电子触摸显示屏、按钮以及电线,所述单片机与电线设置于所述快速测定仪的内部,所述电子触摸显示屏和按钮设置于所述快速测定仪前端的表面;

所述液体管路及输送模块包括样液抽取装置和清水抽取装置,所述样液抽取装置的一端设置有第一抽液头,所述样液抽取装置的底部设置有转轴,所述第一抽液头的内部设置有第一微型蠕动泵,所述样液抽取装置内设置有样液流通管道,所述清水抽取装置的一端设置有第二抽液头,所述第二抽液头的内部设置有第二微型蠕动泵,所述清水抽取装置内设置有清水流通管道,所述样液流通管道的末端与所述清水流通管道的末端合并为一根液体流通管道,所述样液流通管道的末端设置有管道保洁凸起,所述液体流通管道与所述比色皿下端的进口连接,所述进口前设置有第一电磁阀,所述比色皿上端的出口连接有溢出管,所述比色皿下端的出口连接有第二电磁阀,所述第二电磁阀和所述溢出管合并连接有出液管。

2.根据权利要求1所述的一种铬鞣废液三价铬含量的快速测定仪,其特征在于:所述快速测定仪的顶部还设置有样液盛放台和清水容器放置处,所述样液盛放台设置于所述样液抽取装置的下方,所述样液盛放台上设置有四个待测样液放置处,所述清水容器放置处设置于所述清水抽取装置的下方。

3.根据权利要求1所述的一种铬鞣废液三价铬含量的快速测定仪,其特征在于:所述快速测定仪的左侧还设置有三相电源插口,电路熔断保护器,PLC的RS232通讯口和计算机通讯接口。

4.根据权利要求1所述的一种铬鞣废液三价铬含量的快速测定仪,其特征在于:所述液体吸光度定值检测模块的上端设置有检修盖,所述检修盖的上端设置有检修旋钮,旋钮右旋可以打开检测盖。