欢迎来到知嘟嘟! 联系电话:13336804447 卖家免费入驻,海量在线求购! 卖家免费入驻,海量在线求购!
知嘟嘟
我要发布
联系电话:13336804447
知嘟嘟经纪人
收藏
专利号: 2019201296788
申请人: 绍兴职业技术学院
专利类型:实用新型
专利状态:已下证
专利领域: 照明
更新日期:2023-08-24
缴费截止日期: 暂无
价格&联系人
年费信息
委托购买

摘要:

权利要求书:

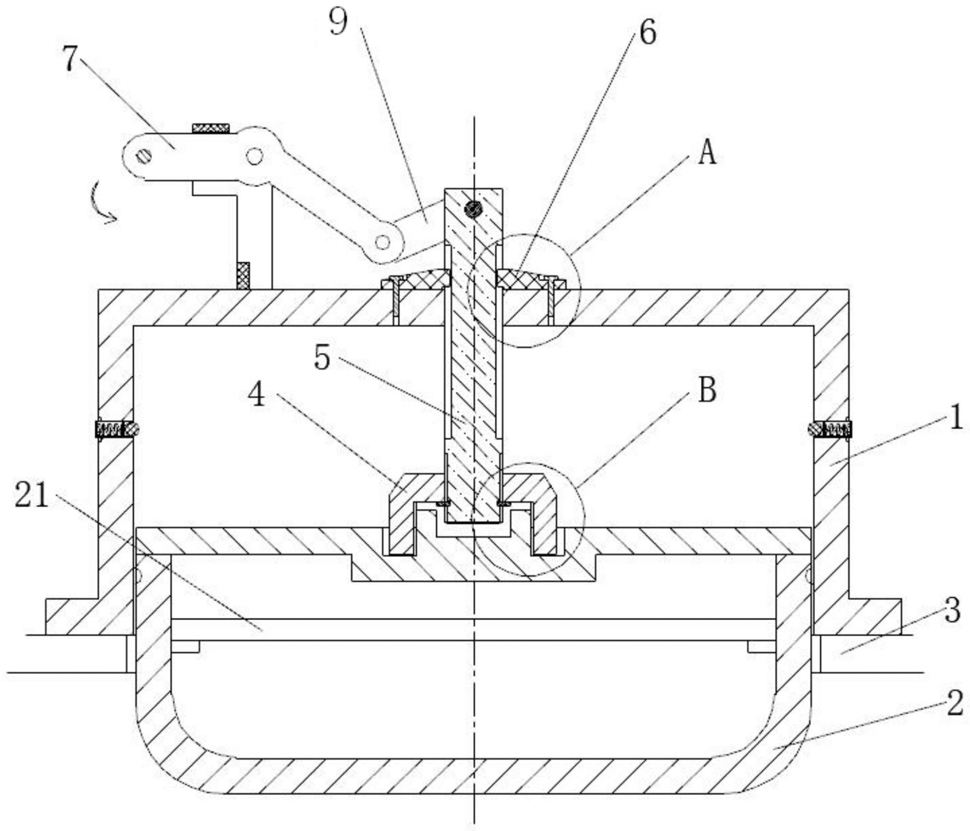
1.一种集群控制式照明灯,其特征在于:包括下部开口的固定壳,固定壳的顶部固定有支座且开设有通孔,通孔内贯穿有升降杆,支座上转动连接有操作杆,所述操作杆的一端与升降杆连接,另一端设有连接孔;固定壳的内部设有与升降杆连接的升降壳,升降壳内装有灯板。

2.如权利要求1所述的一种集群控制式照明灯,其特征在于:所述固定壳的内壁上开设有安装孔,安装孔内固定有回复弹簧,回复弹簧上连有定位珠,升降壳的外壁上开设有与定位珠相配合的卡槽。

3.如权利要求1所述的一种集群控制式照明灯,其特征在于:所述升降杆上设有连杆,连杆的两端分别与操作杆、升降杆伸出固定壳的一端铰接。

4.如权利要求1所述的一种集群控制式照明灯,其特征在于:所述支座上设有上限位块与下限位块,上限位块用于限定操作杆的初始位,下限位块用于限定操作杆的终止位。

5.如权利要求1所述的一种集群控制式照明灯,其特征在于:所述升降杆的外壁上开设有竖向设置的凹槽,凹槽的轴向长度与升降杆的升降幅度相同,固定壳的顶部固定有压块,压块的一端位于凹槽内。

6.如权利要求5所述的一种集群控制式照明灯,其特征在于:压块与凹槽的相对面与凹槽底面贴合。

7.如权利要求6所述的一种集群控制式照明灯,其特征在于:所述凹槽有两个,两个凹槽对称设置;所述压块有两个,两个压块对称设置在升降杆的两侧。

8.如权利要求7所述的一种集群控制式照明灯,其特征在于:所述压块由若干个拼接块拼接而成,每个拼接块上均连有螺钉,固定壳顶面上开设有若干个与螺钉相配合的螺孔。

9.如权利要求1所述的一种集群控制式照明灯,其特征在于:所述升降杆位于固定壳内的一端可拆卸地连接有连接件,连接件与升降壳之间可拆卸连接,连接件的硬度小于升降壳和升降杆的硬度。

10.如权利要求9所述的一种集群控制式照明灯,其特征在于:所述升降杆位于固定壳内的一端设有与连接件抵接的卡簧,卡簧位于连接件和升降壳之间。