欢迎来到知嘟嘟! 联系电话:13336804447 卖家免费入驻,海量在线求购! 卖家免费入驻,海量在线求购!
知嘟嘟
我要发布
联系电话:13336804447
知嘟嘟经纪人
收藏
专利号: 2019201296735
申请人: 绍兴职业技术学院
专利类型:实用新型
专利状态:已下证
专利领域: 照明
更新日期:2023-08-24
缴费截止日期: 暂无
价格&联系人
年费信息
委托购买

摘要:

权利要求书:

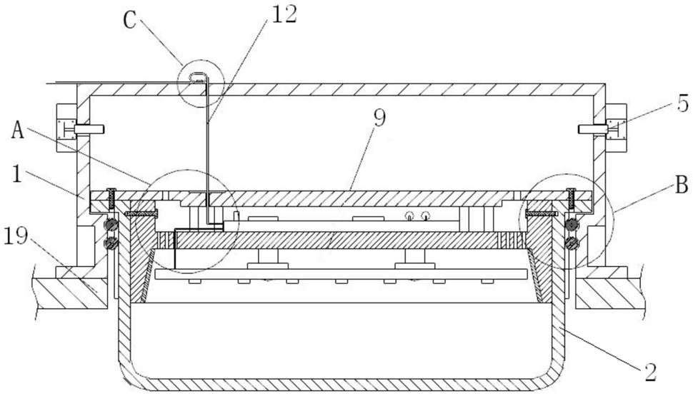
1.一种伸缩式照明灯,其特征在于:包括下部开口的固定壳,固定壳内设有灯体,固定壳的上部内径大于下部内径,固定壳的内壁在内径变化处形成台阶,灯体的上部设有与台阶相对的翻边,固定壳的内壁上设有电磁铁,翻边位于电磁铁和台阶之间,电磁铁内设有用于限制翻边位置的铁芯。

2.如权利要求1所述的一种伸缩式照明灯,其特征在于:所述灯体包括上部开口的透光壳,透光壳的外壁上设有所述翻边,透光壳内安装有固定板,固定板上安装有灯板和反光罩,反光罩包覆在灯板外围;透光壳的开口端连有端盖。

3.如权利要求2所述的一种伸缩式照明灯,其特征在于:所述灯板上设有固定柱,灯板与固定板之间通过固定柱连接。

4.如权利要求2所述的一种伸缩式照明灯,其特征在于:所述端盖和固定板上均设有散热孔。

5.如权利要求2所述的一种伸缩式照明灯,其特征在于:包括电源线,电源线依次穿过固定壳、端盖及固定板后与灯板的输入端连接。

6.如权利要求5所述的一种伸缩式照明灯,其特征在于:所述电源线位于固定壳外部的部分成圈缠绕形成集圈部,集圈部上设有与固定壳连接的集束扣;所述电源线沿灯体的移动方向贯穿固定壳和端盖。

7.如权利要求5或6所述的一种伸缩式照明灯,其特征在于:所述端盖的上端设有用于容置电源线的凹槽。

8.如权利要求5所述的一种伸缩式照明灯,其特征在于:所述灯体还包括控制板,控制板固定在固定板与端盖之间,所述电源线与控制板的输入端连接,控制板的输出端与灯板的输入端连接。

9.如权利要求2所述的一种伸缩式照明灯,其特征在于:所述固定壳的内壁上设有滚轮,滚轮位于翻边下方,所述透光壳的外壁上设有与滚轮相配合的导槽。

10.如权利要求1所述的一种伸缩式照明灯,其特征在于:所述固定壳的内壁上设有安装槽,电磁铁包括固定在安装槽内的壳体,壳体内设有导电线圈和所述铁芯。

我要求购
我不想找了,帮我找吧
您有专利需要变现?
我要出售
智能匹配需求,快速出售