欢迎来到知嘟嘟! 联系电话:13336804447 卖家免费入驻,海量在线求购! 卖家免费入驻,海量在线求购!
知嘟嘟
我要发布
联系电话:13336804447
知嘟嘟经纪人
收藏
专利号: 2019201118850
申请人: 宁波大学
专利类型:实用新型
专利状态:已下证
专利领域: 测量;测试
更新日期:2023-08-24
缴费截止日期: 暂无
价格&联系人
年费信息
委托购买

摘要:

权利要求书:

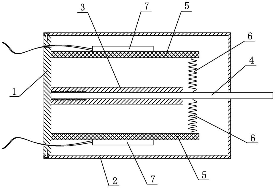
1.一种测量准确的温度传感器,其特征在于包括隔热的底板、壳体、套管和导热的探棒,所述的壳体与所述的底板固定连接,所述的套管设置在所述的壳体内且与所述的底板固定连接,所述的探棒的一端固定插接在所述的套管中且另一端伸出所述的壳体,所述的探棒的两侧设置有相对称且隔热的弹性板,所述的弹性板与所述的底板固定连接,所述的弹性板与所述的探棒之间固定设置有形状记忆合金弹簧,所述的弹性板上粘贴有电阻应变片,两个所述的电阻应变片的位置沿所述的探棒对称。

2.如权利要求1所述的一种测量准确的温度传感器,其特征在于:所述的套管内设置有内螺纹,所述的探棒的一端设置有外螺纹,所述的探棒的一端插入所述的套管中且与所述的套管螺接固定。

3.如权利要求1所述的一种测量准确的温度传感器,其特征在于:所述的底板、所述的壳体、所述的套管和所述的弹性板的材料为隔热材料或表面涂覆有隔热材料。

4.如权利要求1所述的一种测量准确的温度传感器,其特征在于:所述的弹性板的材料为轻质铝合金。

5.如权利要求1所述的一种测量准确的温度传感器,其特征在于:所述的探棒的材料为高强、高导热的合金铜。