欢迎来到知嘟嘟! 联系电话:13336804447 卖家免费入驻,海量在线求购! 卖家免费入驻,海量在线求购!
知嘟嘟
我要发布
联系电话:13336804447
知嘟嘟经纪人
收藏
专利号: 2019200737478
申请人: 成都沃夫特科技有限公司
专利类型:实用新型
专利状态:已下证
专利领域: 输送;包装;贮存;搬运薄的或细丝状材料
更新日期:2025-08-12
缴费截止日期: 暂无
价格&联系人
年费信息
委托购买

摘要:

权利要求书:

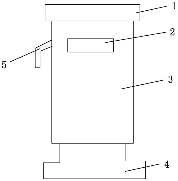
1.一种危险证据收集管,其特征在于,包括收集管本体(3),设置在收集管本体(3)开口处的外壁上的外螺纹(13),通过内螺纹(101)与外螺纹(13)连接的顶盖(1),设置在顶盖(1)内部的限位柱(102),设置在收集管本体(3)表面的标签(2),与收集管本体(3)侧壁一侧铰接的挂钩(5),设置在收集管本体(3)侧壁另一侧且形状与挂钩(5)匹配的挂钩槽(6),设置在收集管本体(3)底部的伸缩装置,设置在伸缩装置的上表面且位于收集管本体(3)内部的胶垫(11),设置在伸缩装置上且贯穿胶垫(11)的限位部件(12),以及设置在伸缩装置下表面的底座(4)。

2.根据权利要求1所述的一种危险证据收集管,其特征在于,所述伸缩装置包括设置在收集管本体(3)侧壁底部的弹簧(7),设置在收集管本体(3)侧壁内部且与弹簧(7)连接的滑动块(8),设置在收集管本体(3)内部且与滑动块(8)固定连接的连接杆(9),以及用于连接多个连接杆(9)的底板(10),所述胶垫(11)和限位部件(12)设置在底板(10)的上表面,所述底座(4)设置在底板(10)的下表面。

3.根据权利要求1所述的一种危险证据收集管,其特征在于,所述限位部件(12)由两个呈半圆形的柱状体组成。

4.根据权利要求1所述的一种危险证据收集管,其特征在于,所述收集管本体(3)侧壁上设置有用于收纳挂钩(5)的凹槽。

5.根据权利要求1所述的一种危险证据收集管,其特征在于,所述限位柱(102)的外径小于收集管本体(3)开口处的内径。