欢迎来到知嘟嘟! 联系电话:13336804447 卖家免费入驻,海量在线求购! 卖家免费入驻,海量在线求购!
知嘟嘟
我要发布
联系电话:13336804447
知嘟嘟经纪人
收藏
专利号: 2019113499542
申请人: 诸暨叶蔓电子商务有限公司
专利类型:发明专利
专利状态:已下证
专利领域: 电通信技术
更新日期:2024-02-23
缴费截止日期: 暂无
价格&联系人
年费信息
委托购买

摘要:

权利要求书:

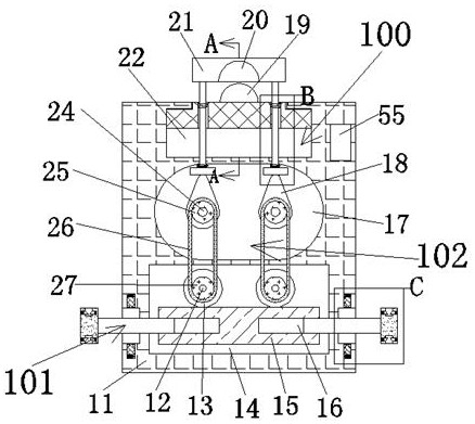
1.一种利用无线信号传输的一次性求救信号发射设备,其特征在于:包括盒体,所述盒体内设有传动腔,所述传动腔内转动设有蜗杆,所述蜗杆内左右对称且开口相背的设有螺纹孔,所述螺纹孔内螺纹连接有螺杆,所述螺杆滑动连接于所述盒体;所述蜗杆左右两侧设有手动装置,所述螺杆远离所述蜗杆一端固定连接于所述手动装置内的手动推板;所述蜗杆上端相啮合的设有左右对称的两个蜗轮,所述两个蜗轮前端分别固连有连接轴,所述连接轴的前端固连有主动带轮,所述主动带轮上连接有传动带,所述传动腔上侧内壁内设有凸轮腔,所述凸轮腔内设有传动装置,所述传动带上端连接于所述传动装置;所述传动装置内包括两个转动设于所述凸轮腔内的凸轮,所述凸轮上端相抵设有往复滑板,所述往复滑板上端与所述凸轮腔上侧内壁之间固连有复位弹簧;所述凸轮腔上侧内壁内设有开口向上的回收腔,所述回收腔内设有信号装置,所述信号装置包括无线信号发射探头,所述信号装置通过两根连杆连接于所述往复滑板;所述盒体内固设有蓄电池,所述蓄电池给所述无线信号发射探头提供电能。

2.如权利要求1所述的一种利用无线信号传输的一次性求救信号发射设备,其特征在于:所述信号装置包括滑动设于所述回收腔内的滑动板,所述滑动板内左右对称且上下贯通的设有通孔,两根所述连杆下端分别固连于两块所述往复滑板,所述连杆上端穿过所述通孔且固连有隔离板,所述连杆滑动连接于所述滑动板;所述连杆与所述通孔内壁之间固连有压缩弹簧,所述无线信号发射探头固连于所述滑动板上端,所述隔离板内设有开口向下的隔离腔。

3.如权利要求2所述的一种利用无线信号传输的一次性求救信号发射设备,其特征在于:所述回收腔前后两侧内壁内对称设有齿轮腔,所述齿轮腔分别与回收腔相连通,所述齿轮腔内转动设有单向齿轮,所述单向齿轮上侧转动设有连接齿轮,所述连接齿轮右端与所述单向齿轮右端分别固连有连接带轮,所述连接带轮之间连接有连接皮带,所述齿轮腔上侧内壁内设有导滑槽,所述导滑槽与所述齿轮腔相连通,所述导滑槽相连通于所述回收腔,所述导滑槽内滑动设有滑动齿条,所述滑动齿条相啮合于所述连接齿轮;所述隔离板前后两端面内固设有单向齿条,所述单向齿条单向啮合于所述单向齿轮,所述隔离板内前后对称的设有开口相背的卡孔。

4.如权利要求1所述的一种利用无线信号传输的一次性求救信号发射设备,其特征在于:所述传动装置包括转动设于所述凸轮前侧的从动带轮,所述从动带轮与所述凸轮之间固连有凸轮轴,所述传动带上端连接于所述从动带轮。

5.如权利要求1所述的一种利用无线信号传输的一次性求救信号发射设备,其特征在于:所述盒体内左右对称设有开口相背的凹槽,两侧的所述手动推板能够滑入所述凹槽内并与所述盒体连接,所述凹槽上下两侧内壁内对称设有连通槽,所述连通槽分别与凹槽相连通,所述连通槽内滑动设有滑动杆,所述滑动杆远离所述螺杆一端与所述连通槽远离所述螺杆一侧内壁之间固连有电磁弹簧;所述手动推板内上下对称的设有开口相背的连接孔。

6.如权利要求5所述的一种利用无线信号传输的一次性求救信号发射设备,其特征在于:所述滑动杆内左右对称且开口相背的设有卡槽,所述连接孔左右两侧内壁内对称设有弹簧槽,所述弹簧槽分别与连接孔相连通,所述弹簧槽与所述连接孔之间滑动设有卡块,所述卡块与所述弹簧槽一侧内壁之间固连有压紧弹簧。