欢迎来到知嘟嘟! 联系电话:13095918853 卖家免费入驻,海量在线求购! 卖家免费入驻,海量在线求购!
知嘟嘟
我要发布
联系电话:13095918853
知嘟嘟经纪人
收藏
专利号: 2019113442652
申请人: 江西理工大学
专利类型:发明专利
专利状态:已下证
专利领域: 手动工具;轻便机动工具;手动器械的手柄;车间设备;机械手
更新日期:2025-09-29
缴费截止日期: 暂无
价格&联系人
年费信息
委托购买

摘要:

权利要求书:

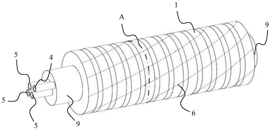
1.一种基于线干扰技术的变刚度全向运动软体驱动器,其特征在于,包括:波纹膨胀管(1)、软管(2)、尼龙细丝(3)、第一气管(4)、第二气管(5)和扭转限制线(6);

所述波纹膨胀管(1)为两端开口,且具有膨胀节的波纹状空心管体;

所述软管(2)同轴套设在所述波纹膨胀管(1)的内部,所述软管(2)的端头与所述波纹膨胀管(1)的端头密封固定,且与所述波纹膨胀管(1)之间形成第一空腔(7);所述软管(2)内部沿径向方向均分为多个第二空腔(8);

所述尼龙细丝(3)同轴充满在所述第二空腔(8)内;

所述第一气管(4)连接在所述波纹膨胀管(1)的一端,且与所述第一空腔(7)连通,用于向所述第一空腔(7)内充气或抽气;

所述第二气管(5)的数量为多个,且与所述第一气管(4)同方向连接在所述波纹膨胀管(1)的端头,且分别与所述第二空腔(8)连通,用于向所述第二空腔(8)内充气或抽气;

所述扭转限制线(6)可拆卸连接在所述波纹膨胀管(1)的外壁,且用于限制所述波纹膨胀管(1)伸长。

2.根据权利要求1所述的一种基于线干扰技术的变刚度全向运动软体驱动器,其特征在于,所述波纹膨胀管(1)的两端具有直径收缩的连接管(9),所述连接管(9)一端与所述第一空腔(7)连通,另一端封闭;所述连接管(9)的内壁与所述软管(2)的端头外壁粘合固定。

3.根据权利要求1所述的一种基于线干扰技术的变刚度全向运动软体驱动器,其特征在于,所述波纹膨胀管(1)和所述软管(2)均由拉伸性能强的硅胶材料制成。

4.根据权利要求1所述的一种基于线干扰技术的变刚度全向运动软体驱动器,其特征在于,所述软管(2)内部均分为三部分,形成三个所述第二空腔(8)。

5.根据权利要求1-4任一项所述的一种基于线干扰技术的变刚度全向运动软体驱动器,其特征在于,每个所述第二空腔(8)内的所述尼龙细丝(3)分为两组,两组所述尼龙细丝(3)相反的端头分别与所述软管(2)的两端端头粘合固定,且两组所述尼龙细丝(3)均匀交错布置。

6.根据权利要求5所述的一种基于线干扰技术的变刚度全向运动软体驱动器,其特征在于,每组所述尼龙细丝(3)的长度至少大于收缩状态下的所述波纹膨胀管(1)长度的二分之一。

7.根据权利要求1所述的一种基于线干扰技术的变刚度全向运动软体驱动器,其特征在于,所述第一气管(4)和所述第二气管(5)均连接有气泵。

8.根据权利要求1所述的一种基于线干扰技术的变刚度全向运动软体驱动器,其特征在于,所述扭转限制线(6)的数量为多根,且均匀布置在所述波纹膨胀管(1)的外壁;每根所述扭转限制线(6)的两端分别与所述波纹膨胀管(1)的两端对齐,且沿所述波纹膨胀管(1)的外壁旋转布置。

9.根据权利要求1-4或6-8任一项所述的一种基于线干扰技术的变刚度全向运动软体驱动器,其特征在于,所述扭转限制线(6)与所述波纹膨胀管(1)通过双面胶或魔术贴贴合。

10.根据权利要求9所述的一种基于线干扰技术的变刚度全向运动软体驱动器,其特征在于,所述扭转限制线(6)为不可拉伸的凯夫拉线。