欢迎来到知嘟嘟! 联系电话:13336804447 卖家免费入驻,海量在线求购! 卖家免费入驻,海量在线求购!
知嘟嘟
我要发布
联系电话:13336804447
知嘟嘟经纪人
收藏
专利号: 2019111541193
申请人: 刘根
专利类型:发明专利
专利状态:已下证
专利领域: 燃烧设备;燃烧方法
更新日期:2023-08-24
缴费截止日期: 暂无
价格&联系人
年费信息
委托购买

摘要:

权利要求书:

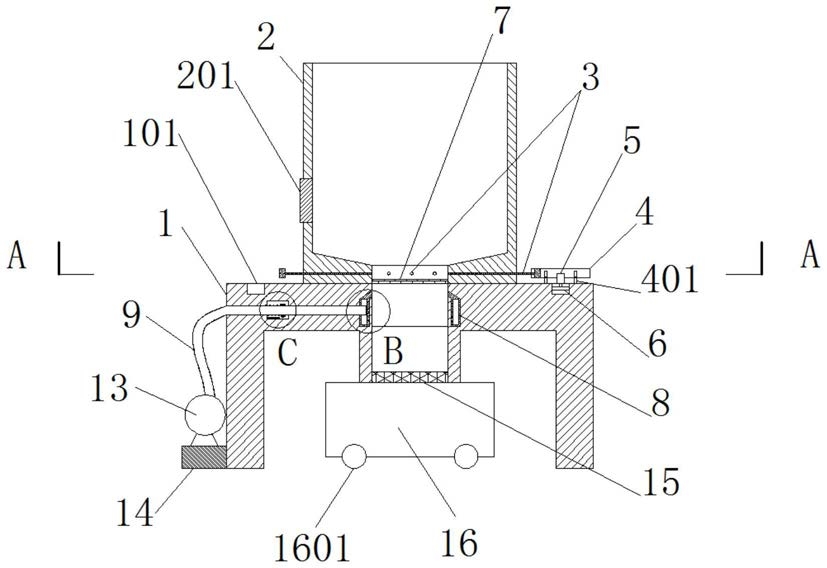
1.一种用于生物质能燃烧机的自动清理废渣的装置,包括支撑架(1),其特征在于:所述支撑架(1)的上端开设有环形滑槽(101),支撑架(1)的中部开设有通孔(102),撑架(1)的内部左侧开设有柱形槽(103),支撑架(1)的上端固定连接有燃烧桶(2),燃烧桶(2)的左端设置有进料口(201),燃烧桶(2)的下部外侧开设有弧形槽(202),燃烧桶(2)的下端开设有排渣口(203),燃烧桶(2)的下侧且在弧形槽(202)内滑动连接有清理杆(3),清理杆(3)的外端设置有挡板(301),挡板(301)与燃烧桶(2)之间固定连接有第一弹簧(302),挡板(301)的外侧滑动连接有圆盘(4),圆盘(4)的下侧左右两侧均转动连接有滚轮(401),圆盘(4)的下部中侧固定连接有驱动装置(5),驱动装置(5)的下端转动连接有齿轮(6),燃烧桶(2)的下端且在排渣口(203)的位置固定连接有栅格网(7),撑架(1)的内部且在通孔(102)的外侧固定连接有导气装置(8),导气装置(8)的内部开设有环形气槽(801),导气装置(8)的里侧壁开设有喷气口(802),导气装置(8)的左侧插接有进气管(9),进气管(9)的外侧且在柱形槽(103)内固定连接有环形块(10),环形块(10)的下端固定连接有金属球(1001),支撑架(1)的内部且在柱形槽(103)的左下侧固定连接有金属球(1001)对应的可变电阻(11),环形块(10)的左侧和柱形槽(103)的左侧固定连接有第二弹簧(12),进气管(9)的下端固定连接有气泵(13),气泵(13)的下端固定连接有固定板(14),支撑架(1)的中部下端设置有电磁阀(15),电磁阀(15)的正下方设置有收集箱(16),收集箱(16)的下端滚动连接有万向轮(1601);

所述燃烧桶(2)内且在弧形槽(202)的里侧端开设有与清理杆(3)相适应的滑槽;

所述弧形槽(202)的弧面与清理杆(3)及挡板(301)的弧面相适应;

所述清理杆(3)的里侧端到排渣口(203)中心和挡板(301)的里侧面到弧形槽(202)的里侧面距离相同;

所述滚轮(401)关于驱动装置(5)对称;

所述环形滑槽(101)的两侧壁开设有与齿轮(6)相啮合的齿牙;

所述喷气口(802)环绕开设在导气装置(8)的内壁且倾斜向上。