欢迎来到知嘟嘟! 联系电话:13336804447 卖家免费入驻,海量在线求购! 卖家免费入驻,海量在线求购!
知嘟嘟
我要发布
联系电话:13336804447
知嘟嘟经纪人
收藏
专利号: 2019111527270
申请人: 福州幻科机电科技有限公司
专利类型:发明专利
专利状态:授权未缴费
专利领域: 一般的物理或化学的方法或装置
更新日期:2024-11-12
缴费截止日期: 暂无
价格&联系人
年费信息
委托购买

摘要:

权利要求书:

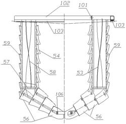
1.一种自动灌馅包丸机的搅拌片架结构的工作方法,包括搅拌片架,其特征在于所述搅拌片架由幅轮式传动盘、骨架、定位在浆料桶和馅料桶锥面段骨架上的泵浆蜗壳片组成,所述幅轮式传动盘由两根以上的传动盘幅杆、上外环、上滑环、齿圈组成,上外环和上滑环同心通过传动盘幅杆固定成一个完整的幅轮式传动盘,幅轮式传动盘上外环的下面定位有一齿圈,齿圈与上滑环同心,所述齿圈与浆料桶上部的两个拌浆伞形齿轮和数个撑托伞形齿轮紧密啮合,所述骨架为靠近浆料桶内壁和靠近馅料桶外壁的两根互为平行的结构设有两组以上,每一组骨架的上端定位在传动盘幅杆的下面,对应的传动盘幅杆也设有两根以上,每一组骨架在浆料桶倒锥段定位有数片泵浆蜗壳片,泵浆蜗壳片下抵浆料桶倒锥面上抵馅料桶倒锥面,以用于将浆料强行泵出浆料桶出口,靠近浆料桶内壁骨架的锥面段下端头连接下定心滑环、下定心滑环套装在馅桶出口定心圈上,每组两竖直平行的骨架间分别设有正反拌浆片,整个搅拌片架结构通过幅轮式传动盘的上滑环和下定心滑环分别套装限定在馅料桶外壁的定心衬环和馅料桶出口处的馅桶出口定心圈上;

以上所述的自动灌馅包丸机的搅拌片架结构的工作方法如下:在幅轮式固定盘的压轮限定下搅拌片架机构的齿圈与两个拌浆伞形齿轮和四个撑托伞形齿轮紧密啮合,再在自动灌馅制丸机动力的驱动下,拌浆伞形齿轮驱动齿圈,从而带动整个搅拌片架绕着馅料桶的轴线转动,这时正拌浆片和反拌浆片进行搅拌浆料的工作,泵浆蜗壳片强行将浆料快速往浆料桶出口挤压到自动管线制丸机的丸状球型模中,而内刮片和外刮片在及时向下清刮桶壁上浆料的同时,还参与搅拌浆料的工作。

2.根据权利要求1所述的一种自动灌馅包丸机的搅拌片架结构的工作方法,其特征在于,所述搅拌片架数组竖直平行的骨架上靠近浆料桶内壁和靠近馅料桶外壁一侧从上而下设有数条斜向下的内外刮片,内外刮片均分别紧贴着浆料桶内壁和馅料桶外壁。