欢迎来到知嘟嘟! 联系电话:13336804447 卖家免费入驻,海量在线求购! 卖家免费入驻,海量在线求购!
知嘟嘟
我要发布
联系电话:13336804447
知嘟嘟经纪人
收藏
专利号: 2019110197019
申请人: 浙江工贸职业技术学院
专利类型:发明专利
专利状态:已下证
专利领域: 一般喷射或雾化;对表面涂覆液体或其他流体的一般方法〔2〕
更新日期:2023-08-24
缴费截止日期: 暂无
价格&联系人
年费信息
委托购买

摘要:

权利要求书:

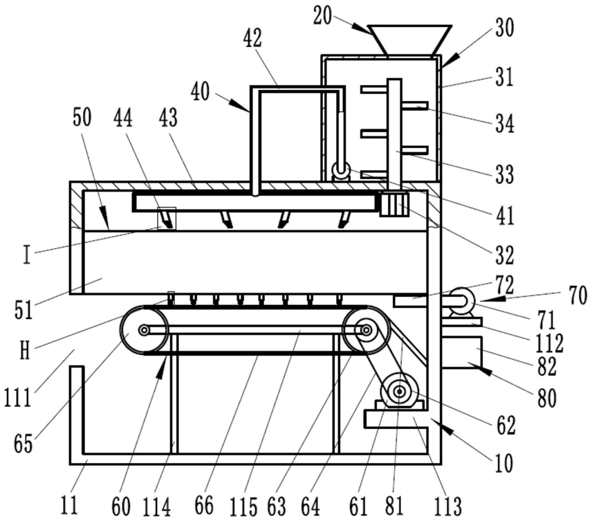
1.一种数学教育用数学玩具刷漆设备,其特征在于,包括:

机架(10);

送料结构(20),所述送料结构(20)设置在所述机架(10)上;

搅拌机构(30),所述搅拌机构(30)设置在所述机架(10)上,且所述搅拌机构(30)位于所述送料结构(20)的下端;

喷漆机构(40),所述喷漆机构(40)设置在所述机架(10)上,且所述喷漆机构(40)位于所述搅拌机构(30)的一侧;

刷漆机构(50),所述刷漆机构(50)设置在所述机架(10)上,且所述刷漆机构(50)位于所述喷漆机构(40)的下方;

输送机构(60),所述输送机构(60)设置在所述机架(10)上,且所述输送机构(60)位于所述刷漆机构(50)的下方;

风干机构(70),所述风干机构(70)设置在所述机架(10)上,且所述风干机构(70)位于所述输送机构(60)的一侧;

下料机构(80),所述下料机构(80)设置在所述机架(10)上,且所述下料机构(80)与所述输送机构(60)连通。

2.根据权利要求1所述的数学教育用数学玩具刷漆设备,其特征在于,所述搅拌机构(30)包括:搅拌桶(31),所述搅拌桶(31)设置在所述机架(10)上,且所述搅拌桶(31)与所述送料结构(20)连通;

第一电机(32),所述第一电机(32)设置在所述机架(10)上,且所述第一电机(32)位于所述搅拌桶(31)外;

搅拌轴(33),所述搅拌轴(33)位于所述搅拌桶(31)内,且所述搅拌轴(33)与所述第一电机(32)的输出轴相连;

若干个搅拌叶(34),若干个搅拌叶(34)设置在所述搅拌轴(33)上。

3.根据权利要求2所述的数学教育用数学玩具刷漆设备,其特征在于,所述喷漆机构(40)包括:泵体(41),所述泵体(41)位于所述搅拌桶(31)内;

输送管(42),所述输送管(42)的一端与所述泵体(41)相连,所述输送管(42)的另一端伸出所述搅拌桶(31)外;

横向盲管(43),所述横向盲管(43)的上端与所述输送管(42)的另一端相连通;

若干个喷头(44),若干个喷头(44)设置在所述横向盲管(43)的下端上。

4.根据权利要求3所述的数学教育用数学玩具刷漆设备,其特征在于,所述喷头(44)包括关于所述横向盲管(43)倾斜设置的导管(441)以及与所述导管(441)相连的锥形喷嘴(442),所述锥形喷嘴(442)上开设有若干个喷射孔(4421)。

5.根据权利要求4所述的数学教育用数学玩具刷漆设备,其特征在于,所述刷漆机构(50)包括:框架(51),所述框架(51)的外壁与所述机架(10)相连;

一对第一刷漆组件,其中,一个第一刷漆组件设置在所述框架(51)的内侧壁的底端上,另一个第一刷漆组件设置在所述框架(51)的外侧壁的底端上;

第二刷漆组件,所述第二刷漆组件位于所述框架(51)内。

6.根据权利要求5所述的数学教育用数学玩具刷漆设备,其特征在于,所述第一刷漆组件包括第二电机(52),所述第二电机(52)设置在位于所述框架(51)底端对应的第一安装板(511)上,所述第二电机(52)的输出轴上连接有转轴(53),所述转轴(53)的端部与位于所述框架(51)底端对应的第二安装板(512)转动配合,所述转轴(53)上设置有若干个毛刷轮(54),所述毛刷轮(54)上设有若干个毛刷(55)。

7.根据权利要求6所述的数学教育用数学玩具刷漆设备,其特征在于,所述第二刷漆组件包括:第三电机(90),所述第三电机(90)设置在所述框架(51)的内侧壁上,且所述第三电机(90)的输出轴上通过一轴套连接有螺旋轴(100);

刷辊(110),所述刷辊(110)的一端通过连接螺套(120)与所述螺旋轴(100)相连,所述刷辊(110)的另一端与位于所述框架(51)内的连接板(513)滑动配合;

若干个刷套(130),若干个刷套(130)套设在所述刷辊(110)上。

8.根据权利要求7所述的数学教育用数学玩具刷漆设备,其特征在于,所述输送机构(60)包括:第四电机(61),所述第四电机(61)设置在所述机架(10)上;

驱动轮(62),所述驱动轮(62)设置在所述第四电机(61)的输出轴上;

主动轮(63),所述主动轮(63)通过第一皮带(64)与所述驱动轮(62)传动连接,且所述主动轮(63)设置在所述机架(10)上;

从动轮(65),所述从动轮(65)通过第二皮带(66)与所述主动轮(63)传动连接,且所述从动轮(65)设置在所述机架(10)上。

9.根据权利要求8所述的数学教育用数学玩具刷漆设备,其特征在于,所述风干机构(70)包括设置在所述机架(10)外侧的鼓风机(71)和与所述鼓风机(71)相连的风管(72),所述风管(72)的管口正对所述第二皮带(66)的上方。

10.根据权利要求9所述的数学教育用数学玩具刷漆设备,其特征在于,所述下料机构(80)包括导料板(81)和设置在所述机架(10)外侧的收纳箱(82),所述导料板(81)的一端与所述第二皮带(66)连通,所述导料板(81)的另一端与所述收纳箱(82)连通,所述收纳箱(82)位于所述鼓风机(71)的下方。