欢迎来到知嘟嘟! 联系电话:13336804447 卖家免费入驻,海量在线求购! 卖家免费入驻,海量在线求购!
知嘟嘟
我要发布
联系电话:13336804447
知嘟嘟经纪人
收藏
专利号: 2019109889324
申请人: 日照亿铭科技服务有限公司
专利类型:发明专利
专利状态:已下证
专利领域: 磨削;抛光
更新日期:2024-07-25
缴费截止日期: 暂无
价格&联系人
年费信息
委托购买

摘要:

权利要求书:

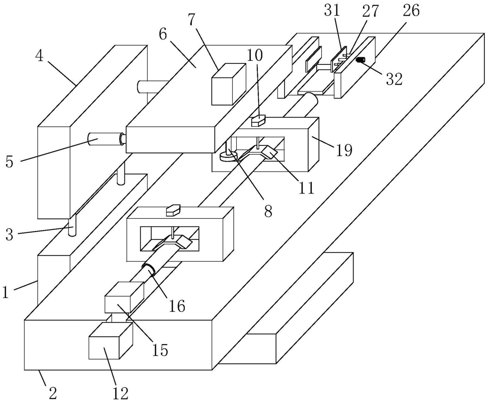
1.一种数控磨床,其特征在于:包括位于固定架(1)顶部的工作台(2)、打磨机构、调节机构、翻转机构和支撑机构;所述打磨机构包括固定架(1)、工作台(2)、固定板(9)、螺杆(10)、压板(11)、第一电机(12)和第二电机(15),所述工作台(2)顶部与固定板(9)固定连接,所述固定板(9)顶部与螺杆(10)贯穿连接,且所述螺杆(10)底端与压板(11)内部转动连接,所述工作台(2)侧端与第一电机(12)固定连接,所述第一电机(12)的输出端与丝杠(13)固定连接,所述丝杠(13)与滑板(14)内部贯穿并滑动连接,且所述滑板(14)顶端与第二电机(15)固定连接;

所述调节机构包括第二电机(15)、连接轴(16)、螺栓(17)、转板(18)、横轴(19)和固定轴(20),所述第二电机(15)的输出端与连接轴(16)固定连接,所述连接轴(16)端部与螺栓(17)固定连接,所述连接轴(16)端部开设的T形槽内部与转板(18)插接,所述转板(18)与横轴(19)端部固定连接,且所述横轴(19)中部与固定轴(20)固定连接,所述固定轴(20)与套轴(21)内部贯穿连接,所述套轴(21)与限位轴(22)固定连接,所述限位轴(22)内部与活动轴(23)转动连接,所述活动轴(23)与转动杆(24)端部转动连接,且所述转动杆(24)端部与磨刀(25)转动连接;

所述翻转机构包括工作台(2)、立板(26)、电动推杆(27)、限位板(28)、延伸板(29)、连接杆(30)和夹板(31),所述工作台(2)顶部与立板(26)固定连接,所述立板(26)侧壁与电动推杆(27)固定连接,且所述电动推杆(27)端部与限位板(28)固定连接,所述限位板(28)内部与延伸板(29)转动连接,所述延伸板(29)与连接杆(30)固定连接,且所述连接杆(30)两端分别与夹板(31)以及齿轮轴(32)固定连接,所述齿轮轴(32)与第一齿轮(33)啮合连接;

所述支撑机构包括工作台(2)、第三电机(34)、输出轴(35)、圆板(36)、第二齿轮(37)、卡槽(38)、套板(39)、第三齿轮(40)和卡块(41),所述工作台(2)侧端与第三电机(34)固定连接,所述第三电机(34)的输出端与输出轴(35)固定连接,所述输出轴(35)两端分别与圆板(36)以及第二齿轮(37)固定连接,所述圆板(36)侧壁开设有卡槽(38),所述输出轴(35)与套板(39)内部套接,所述套板(39)端部与第三齿轮(40)固定连接,且所述第三齿轮(40)侧壁与卡块(41)固定连接,所述第二齿轮(37)与齿板(42)啮合连接,所述齿板(42)与支撑板(43)底端固定连接,且所述支撑板(43)底端与固定块(44)固定连接。

2.根据权利要求1所述的一种数控磨床,其特征在于:所述固定架(1)顶面与工作台(2)滑动连接,所述固定架(1)顶部与第一液压杆(3)固定连接,所述第一液压杆(3)顶端与活动板(4)固定连接,且所述活动板(4)侧壁与第二液压杆(5)固定连接,所述第二液压杆(5)端部与调节板(6)固定连接,所述调节板(6)顶面与主电机(7)固定连接,所述主电机(7)输出端与竖直杆(8)固定连接,且所述竖直杆(8)底端固定连接有磨头。

3.根据权利要求1所述的一种数控磨床,其特征在于:所述固定板(9)的数量为两个,两个所述固定板(9)内部开设有用于工件放置的开口,所述固定板(9)顶端与螺杆(10)螺纹连接,且所述螺杆(10)底端的压板(11)呈倒V形结构。

4.根据权利要求1所述的一种数控磨床,其特征在于:所述连接轴(16)端部与螺栓(17)螺纹连接,所述螺栓(17)端部接触有转板(18),且所述转板(18)一侧的横轴(19)与连接轴(16)内部转动连接。

5.根据权利要求1所述的一种数控磨床,其特征在于:所述横轴(19)与活动轴(23)内部贯穿并滑动连接,所述横轴(19)上的固定轴(20)外表面开设有螺纹槽,且所述横轴(19)与套轴(21)内部螺纹连接。

6.根据权利要求1所述的一种数控磨床,其特征在于:所述活动轴(23)端部截面呈T形结构,所述活动轴(23)内部与截面呈L形结构的限位轴(22)内部转动连接,且所述横轴(19)端部与两个转动杆(24)转动连接。

7.根据权利要求1所述的一种数控磨床,其特征在于:所述活动轴(23)内部与两个磨刀(25)端部转动连接,所述磨刀(25)中部与转动杆(24)端部转动连接,所述磨刀(25)端部呈圆弧状结构,且所述磨刀(25)端部接触有工件内壁。

8.根据权利要求1所述的一种数控磨床,其特征在于:所述工作台(2)开设有用于支撑板(43)移动的通孔,所述工作台(2)两侧端分别与两个第三电机(34)固定连接,两个所述第三电机(34)输出端都与输出轴(35)固定连接,且所述工作台(2)侧端侧壁分别与两个第一齿轮(33)转动连接。

9.根据权利要求1所述的一种数控磨床,其特征在于:所述输出轴(35)和套板(39)都与工作台(2)侧端贯穿连接并延伸至通孔内部,所述套板(39)与工作台(2)内部滑动连接,所述套板(39)端部的第三齿轮(40)与第二齿轮(37)啮合连接,且所述第三齿轮(40)侧壁的卡块(41)与卡槽(38)内部卡接。

10.根据权利要求1所述的一种数控磨床,其特征在于:所述支撑板(43)与工作台(2)内部滑动连接,所述支撑板(43)底端与两个固定块(44)固定连接,所述固定块(44)底面呈倾斜结构,且所述固定块(44)底面接触有套板(39)端部。

我要求购
我不想找了,帮我找吧
您有专利需要变现?
我要出售
智能匹配需求,快速出售