欢迎来到知嘟嘟! 联系电话:13336804447 卖家免费入驻,海量在线求购! 卖家免费入驻,海量在线求购!
知嘟嘟
我要发布
联系电话:13336804447
知嘟嘟经纪人
收藏
专利号: 2019109313983
申请人: 浙江海洋大学
专利类型:发明专利
专利状态:已下证
专利领域: 船舶或其他水上船只;与船有关的设备
更新日期:2025-02-08
缴费截止日期: 暂无
价格&联系人
年费信息
委托购买

摘要:

权利要求书:

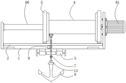
1.一种具有自动锁定功能的船舶抛锚装置,其特征在于,包括:固定架(1);

滑轨(2),所述滑轨(2)固定于所述固定架(1)的内表面的底部;

两个安装板(3),两个所述安装板(3)均滑动连接于所述滑轨(2)上;

收线组件(4),所述收线组件(4)转动连接于两个所述安装板(3)之间;

两个限位组件(5),两个所述限位组件(5)均通过固定件固定于所述固定架(1)的底部;

驱动组件(6),所述驱动组件(6)固定安装于所述固定架(1)上;

固定锚(8),所述固定锚(8)通过链条固定于所述收线组件(4)上,所述固定锚(8)的颈部套设有限位环(15);

限位块(9),所述限位块(9)固定于所述固定架(1)的正面且位于所述限位组件(5)的上侧。

2.根据权利要求1所述的具有自动锁定功能的船舶抛锚装置,其特征在于,所述收线组件(4)包括绕线筒(41),所述绕线筒(41)的左右两侧均固定连接有圆形挡板(42),所述圆形挡板(42)的中心处开设有圆形孔,两个所述圆形挡板(42)相反的一侧均固定连接有环形转动板(43)。

3.根据权利要求2所述的具有自动锁定功能的船舶抛锚装置,其特征在于,两个所述安装板(3)的内部开设有环形安装槽(10),所述环形转动板(43)的一侧贯穿所述安装板(3)且延伸至所述环形安装槽(10)内部,所述环形安装槽(10)的内部且位于所述环形转动板(43)的上下两侧均设置有第一滚轴(11)。

4.根据权利要求1所述的具有自动锁定功能的船舶抛锚装置,其特征在于,所述驱动组件(6)包括减速电机(61),所述减速电机(61)通过螺钉固定安装于所述固定架(1)的右侧,所述减速电机(61)输出轴的一端通过联轴器固定连接有转动管(62),所述转动管(62)的一端依次贯穿所述安装板(3)和圆形挡板(42)并延伸至绕线筒(41)的内部。

5.根据权利要求4所述的具有自动锁定功能的船舶抛锚装置,其特征在于,所述转动管(62)的内部设置有丝杆(63),所述丝杆(63)表面的上下两侧均固定连接有固定块(64),所述转动管(62)表面的上下两侧均开设有滑槽(65),所述固定块(64)的一侧通过所述滑槽(65)延伸至所述转动管(62)的外部,所述固定块(64)的一侧与所述绕线筒(41)的内壁固定连接。

6.根据权利要求5所述的具有自动锁定功能的船舶抛锚装置,其特征在于,所述丝杆(63)的一端螺纹连接有内螺纹管(66),所述内螺纹管(66)的一端与所述固定架(1)内表面的左侧固定连接。

7.根据权利要求1所述的具有自动锁定功能的船舶抛锚装置,其特征在于,所述限位组件(5)包括安装筒(51),所述安装筒(51)内壁的顶部和底部之间滑动连接有移动块(52),所述移动块(52)的一侧通过连接块(53)固定连接有弧形限位块(54),所述弧形限位块(54)的凹面侧固定连接有橡胶垫(55)。

8.根据权利要求7所述的具有自动锁定功能的船舶抛锚装置,其特征在于,所述移动块(52)的另一侧固定连接有带动杆(57),所述带动杆(57)的一端贯穿所述安装筒(51)且延伸至所述安装筒(51)的外部,所述带动杆(57)的一端且位于所述安装筒(51)的外部固定连接有带动块(58),所述带动杆(57)的表面且位于所述安装筒(51)的内部套接有弹性件(56)。

9.根据权利要求1所述的具有自动锁定功能的船舶抛锚装置,其特征在于,所述安装板(3)的底部固定连接有T形滑块(14),所述滑轨(2)上开设有与所述T形滑块(14)相适配的T形滑槽(12),所述T形滑槽(12)的内部设置有第二滚轴(13)。

10.根据权利要求1所述的具有自动锁定功能的船舶抛锚装置,其特征在于,所述限位块(9)的右侧粘接有橡胶块,所述限位环(15)的顶部设置为圆弧形。

我要求购
我不想找了,帮我找吧
您有专利需要变现?
我要出售
智能匹配需求,快速出售