欢迎来到知嘟嘟! 联系电话:13336804447 卖家免费入驻,海量在线求购! 卖家免费入驻,海量在线求购!
知嘟嘟
我要发布
联系电话:13336804447
知嘟嘟经纪人
收藏
专利号: 2019109298470
申请人: 浙江海洋大学
专利类型:发明专利
专利状态:已下证
专利领域: 船舶或其他水上船只;与船有关的设备
更新日期:2024-01-05
缴费截止日期: 暂无
价格&联系人
年费信息
委托购买

摘要:

权利要求书:

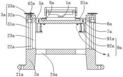
1.一种船舶系泊制链器,其特征在于,包括:制链器本体(1a)和固定架(2a) ,所述固定架(2a)底部的两侧均开设有第一安装孔(21a),并且固定架(2a)的两侧均开设有调节槽(22a)和滑动孔(23a);

两个滑动组件(3a),两个所述滑动组件(3a)分别设置于两个所述调节槽(22a)的内部,所述滑动组件(3a)包括两个滑轴(31a),两个所述滑轴(31a)上均滑动连接有滑动块(32a),两个所述滑动块(32a)之间固定连接有活动板(33a);

第一调节组件(4a),所述第一调节组件(4a)设置于所述固定架(2a)上;

两个联动杆(5a),两个所述联动杆(5a)的一端分别通过两个所述滑动孔(23a)的内部且固定于两个所述活动板(33a)的一侧;

两个联动板(6a),两个所述联动板(6a)的一侧分别固定于两个所述联动杆(5a)的一端;

两个转轴(7a),两个所述转轴(7a)分别转动于两个所述联动板(6a)之间;

升降架(8a),所述升降架(8a)固定于两个所述转轴(7a)相对的一侧之间;

两个第二调节组件(9a),两个所述第二调节组件(9a)分别设置于两个所述联动板(6a)的底部;

所述调节槽(22a)的内部与所述滑动孔(23a)的内部相互连通,所述固定架(2a)的底部开设有两个辅助孔(24a);

所述第一安装孔(21a)共设置有六个,六个所述第一安装孔(21a)对称分布在所述固定架(2a)的两侧;

两个所述滑轴(31a)对称分布在所述调节槽(22a)内壁的顶部和底部之间,并且两个滑轴(31a)之间相互平行分布;

所述第一调节组件(4a)包括调节杆(41a),所述调节杆(41a)的底部与所述固定架(2a)且位于所述调节槽(22a)内壁的底部转动连接,并且调节杆(41a)的顶部贯穿所述固定架(2a)且位于所述调节槽(22a)内壁的顶部且延伸至所述固定架(2a)的顶部,所述调节杆(41a)延伸至所述固定架(2a)顶部的一端固定连接有调节盘(42a);

所述固定架(2a)的顶部且位于所述调节盘(42a)的底部开设有限位槽,所述调节盘(42a)上开设有多个限位孔,多个限位槽与多个限位孔之间设置有定位螺栓;

所述升降架(8a)的顶部开设有定位槽(81a),所述定位槽(81a)的尺寸与所述制链器本体(1a)的底部相适配;

所述第二调节组件(9a)包括固定杆(91a),所述固定杆(91a)的底部固定连接有支撑板(92a),所述支撑板(92a)的顶部固定连接有第一转动件(93a),所述第一转动件(93a)上转动连接有液压伸缩杆(94a)。

2.根据权利要求1所述的船舶系泊制链器,其特征在于,所述液压伸缩杆(94a)的顶部转动连接有第二转动件(95a),所述第二转动件(95a)的顶部与所述升降架(8a)的底部固定连接。

3.根据权利要求2所述的船舶系泊制链器,其特征在于,所述支撑板(92a)的底部与所述辅助孔(24a)的尺寸相适配,并且支撑板(92a)与所述辅助孔(24a)在同一垂线上。