欢迎来到知嘟嘟! 联系电话:13336804447 卖家免费入驻,海量在线求购! 卖家免费入驻,海量在线求购!
知嘟嘟
我要发布
联系电话:13336804447
知嘟嘟经纪人
收藏
专利号: 2019109070411
申请人: 朱建新
专利类型:发明专利
专利状态:已下证
专利领域: 医学或兽医学;卫生学
更新日期:2024-02-28
缴费截止日期: 暂无
价格&联系人
年费信息
委托购买

摘要:

权利要求书:

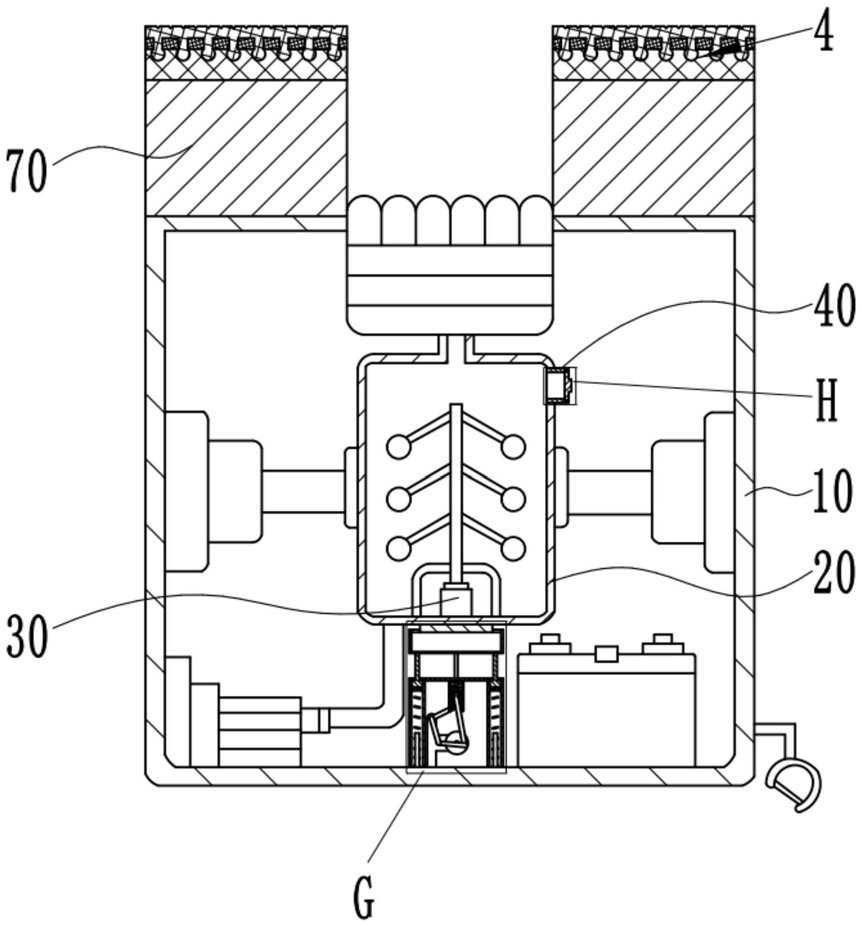
1.一种医学用注射器,包括壳体(10),所述壳体(10)的两侧的上端分别设有皮肤接触块(70),所述壳体(10)内设有药箱(20),所述药箱(20)的底端设有伺服电机(30),所述药箱(20)的一侧具有一进料管(40),其特征在于,所述药箱(20)的底部与所述壳体(10)的内底壁之间设有减震机构,所述减震机构用于吸收因伺服电机(30)工作使药箱(20)产生的震动。

2.根据权利要求1所述的医学用注射器,其特征在于,所述减震机构包括:

移动壳(1),所述移动壳(1)的一端与位于所述药箱(20)底端的安装柱(201)相连;

减震组件(2),所述减震组件(2)设置在所述移动壳(1)的另一端与所述壳体(10)的内底壁之间。

3.根据权利要求2所述的医学用注射器,其特征在于,所述减震组件(2)包括:

一对第一弹簧(21),所述第一弹簧(21)的一端与位于所述移动壳(1)底端上对应的导向杆(11)相连,所述第一弹簧(21)的另一端与所述壳体(10)的内底壁相连,且所述壳体(10)的上端设有一对筒体(101),所述第一弹簧(21)位于对应的筒体(101)内;

联动组件(22),所述联动组件(22)的一端与位于所述移动壳(1)底端的连接杆(12)相连,所述联动组件(22)的另一端与位于所述壳体(10)内底壁上的安装板(102)相连,且所述联动组件(22)位于一对筒体(101)之间。

4.根据权利要求3所述的医学用注射器,其特征在于,所述联动组件(22)包括:

第一连杆(221),所述第一连杆(221)的一端铰接在所述连接杆(12)的底端上;

第一摆杆(222),所述第一摆杆(222)的一端与所述第一连杆(221)的另一端相铰接,所述第一摆杆(222)的另一端枢接在所述安装板(102)上;

第二摆杆(223),所述第二摆杆(223)的一端与所述第一摆杆(222)的另一端相铰接;

转杆(224),所述转杆(224)的一端与所述第二摆杆(223)的另一端相铰接,所述转杆(224)的另一端与一第二连杆(225)的一端相铰接,且所述第二连杆(225)的一端枢接在一转轮(226)上,所述转轮(226)设置在所述安装板(102)上;

门型架(227),所述门型架(227)与设置在一对筒体(101)之间的连接件(50)滑动配合,所述门型架(227)的顶板的内部设有连接凸耳(2271),所述第二连杆(225)的另一端枢接在所述连接凸耳(2271)上;

第二弹簧(228),所述第二弹簧(228)设置在所述门型架(227)的顶板与所述连接件(50)的基板(501)之间,所述基板(501)的下端设有一对定位板(502),所述第二弹簧(228)位于一对定位板(502)之间。

5.根据权利要求1所述的医学用注射器,其特征在于,所述进料管(40)的进口处设有密封盖(60),所述密封盖(60)包括依次相连的凸轴(601)和盖板(602),所述凸轴(601)位于所述进料管(40)外,所述盖板(602)与位于所述进料管(40)的进口处的沉孔(401)的侧壁相连,所述盖板(602)的内端的外周上开设有一环形槽(6021),所述环形槽(6021)内设有密封组件(3),所述密封组件(3)的外周抵压在所述沉孔(401)的侧壁上。

6.根据权利要求5所述的医学用注射器,其特征在于,所述密封组件(3)包括:

内密封圈(31),所述内密封圈(31)的内周上设有若干个环形凸起(311),所述环形凸起(311)的顶部抵压在所述环形槽(6021)的侧壁上,所述内密封圈(31)的外周上开设有若干个第一环形安装槽(312);

外密封圈(32),所述外密封圈(32)连接在所述内密封圈(31)的外侧,所述外密封圈(32)的内周上设有若干个凸圈(321),所述凸圈(321)嵌设在对应的第一环形安装槽(312)内,所述外密封圈(32)的外周面与所述沉孔(401)的侧壁贴合,且所述外密封圈(32)的外周面上开设有第二环形安装槽(322);

若干个O形圈(33),若干个O形圈(33)安装在所述第二环形安装槽(322)内,且所述O形圈(33)的外周面抵压在所述沉孔(401)的侧壁上。

7.根据权利要求1所述的医学用注射器,其特征在于,所述皮肤接触块(70)的上端设有防滑组件(4),所述防滑组件(4)包括与所述皮肤接触块(70)相连的底垫(41),所述底垫(41)的顶端上开设有若干个球槽(411),所述底垫(41)的上方设有上垫(42),所述上垫(42)的底面上设有若干个连接柱(421),所述连接柱(421)的底端上设有卡头(422),所述卡头(422)卡设在对应的球槽(411)内,以将所述上垫(42)与所述底垫(41)连接起来,所述上垫(42)的顶面上开设有若干个锥槽(423)。

8.根据权利要求7所述的医学用注射器,其特征在于,所述底垫(41)与所述上垫(42)之间设有若干个条形垫(43),所述条形垫(43)位于相邻的连接柱(421)之间。

我要求购
我不想找了,帮我找吧
您有专利需要变现?
我要出售
智能匹配需求,快速出售