欢迎来到知嘟嘟! 联系电话:13336804447 卖家免费入驻,海量在线求购! 卖家免费入驻,海量在线求购!
知嘟嘟
我要发布
联系电话:13336804447
知嘟嘟经纪人
收藏
专利号: 2019108871751
申请人: 浙江海洋大学
专利类型:发明专利
专利状态:已下证
专利领域: 水、废水、污水或污泥的处理
更新日期:2024-01-05
缴费截止日期: 暂无
价格&联系人
年费信息
委托购买

摘要:

权利要求书:

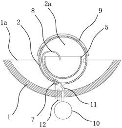
1.一种在海洋环境中制淡水的装置,其特征在于,包括呈碗状的浮体(1),所述浮体(1)的上端具有敞口(1a),所述浮体(1)的内壁为反光面,所述浮体(1)内设有透明球体(2)且所述透明球体(2)与所述浮体(1)之间设有发电机,所述透明球体(2)内具有空腔(2a),所述透明球体(2)的外周面上固设有连接轴(14),所述连接轴(14)与发电机的转子(3)相连接,发电机的定子(4)固定在所述浮体(1)的内壁上,所述透明球体(2)内设有空心的半球体(5),所述半球体(5)位于所述浮体(1)内壁反射聚焦位置且所述半球体(5)上侧具有开口(5a),所述透明球体(2)与所述半球体(5)之间通过转动轴(6)转动连接,所述透明球体(2)的底部设有抽水泵(7),所述抽水泵(7)的进管(71)穿过所述透明球体(2)和所述浮体(1)并与所述浮体(1)外的海水连通,所述抽水泵(7)的出管(72)上连接有水管(8)且所述水管(8)向上延伸至所述半球体(5)内,所述透明球体(2)的上侧设有太阳能电池板(9),所述太阳能电池板(9)的正面为吸光面,所述太阳能电池板(9)的背面为反光面;所述太阳能电池板(9)和发电机均与所述抽水泵(7)电连接,所述浮体(1)下方设有淡水储存瓶(10),所述透明球体(2)上连接有能将透明球体(2)内淡水导入所述淡水储存瓶(10)的软管(11)。

2.根据权利要求1所述的在海洋环境中制淡水的装置,其特征在于,所述太阳能电池板(9)呈球形板体,所述太阳能电池板(9)的背面与所述透明球体(2)的上侧外周面相贴靠,所述太阳能电池板(9)的端面与所述半球体(5)上端端面相平齐。

3.根据权利要求2所述的在海洋环境中制淡水的装置,其特征在于,所述半球体(5)由黑色的吸热材料制成。

4.根据权利要求3所述的在海洋环境中制淡水的装置,其特征在于,所述浮体(1)的下部设置有竖向的连通管(12),所述连通管(12)的上端位于所述浮体(1)的空腔(2a)内,所述连通管(12)的下端穿过所述浮体(1)伸入到海水中。

5.根据权利要求4所述的在海洋环境中制淡水的装置,其特征在于,所述透明球体(2)由导热材料制成。

6.根据权利要求5所述的在海洋环境中制淡水的装置,其特征在于,所述透明球体(2)的下端插设有淡水出水管(13),所述淡水出水管(13)的上端端面与所述透明球体(2)的内壁底部平齐,所述淡水出水管(13)的下端位于所述透明球体(2)外的所述浮体(1)内,所述软管(11)的一端与所述淡水出水管(13)的下端固接,所述淡水储存瓶(10)的上端瓶口嵌设在所述浮体(1)内,所述软管(11)的另一端固设在所述淡水储存瓶(10)的瓶口上。

7.根据权利要求6所述的在海洋环境中制淡水的装置,其特征在于,所述浮体(1)外表面的轮廓与所述浮体(1)内壁的轮廓曲率相同,所述透明球体(2)内的空腔(2a)呈圆球形且所述透明球体(2)的球心与所述半球体(5)的球心重合。

8.根据权利要求7所述的在海洋环境中制淡水的装置,其特征在于,所述浮体(1)的内壁上竖向设置有两个支撑板(15),两个支撑板(15)间隔设置,所述透明球体(2)位于两个支撑板(15)之间,两个支撑板(15)的上端均设有上述发电机,所述透明球体(2)的前后两侧均固设有所述连接轴(14),所述连接轴(14)与对应的发电机的转子(3)相连接;所述透明球体(2)的左右两侧均固设有所述转动轴(6),所述转动轴(6)转动连接在所述透明球体(2)的内壁上,两个连接轴(14)的中轴线与两个转动轴(6)的中轴线垂直相交。