欢迎来到知嘟嘟! 联系电话:13336804447 卖家免费入驻,海量在线求购! 卖家免费入驻,海量在线求购!
知嘟嘟
我要发布
联系电话:13336804447
知嘟嘟经纪人
收藏
专利号: 2019108372202
申请人: 浙江煜焰工业设计有限公司
专利类型:发明专利
专利状态:已下证
专利领域: 开启或封闭瓶子、罐或类似的容器;液体的贮运
更新日期:2024-05-05
缴费截止日期: 暂无
价格&联系人
年费信息
委托购买

摘要:

权利要求书:

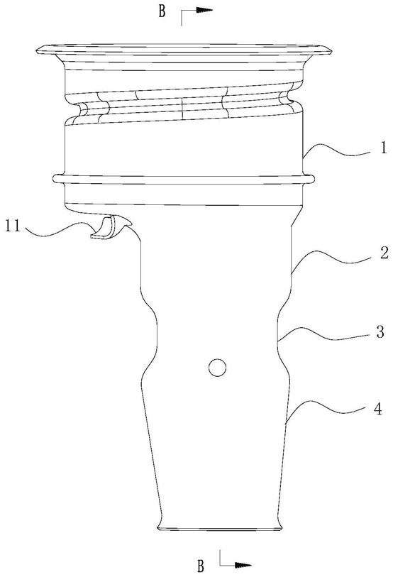
1.加油跳枪准确率高的加油嘴,包括第一管体(1),所述第一管体(1)的底部连接有第二管体(2),所述第二管体(2)相对于所述第一管体(1)偏心设置,所述第一管体(1)的底部设有排气窗(11);

其特征在于:所述第二管体(2)的底部连接有第三管体(3),所述第三管体(3)的底部连接有第四管体(4);

所述第三管体(3)的管壁向内凹陷形成两端大中间小的结构,所述第三管体(3)中部尺寸和加油枪相适配用于限制加油枪晃动,所述第三管体(3)的管壁下部设有排气孔(31);

所述第四管体(4)的内壁下部设有防气泡结构,所述防气泡结构包括橡胶圆锥体(42)、圆台型弹簧(43)、固定环(44);所述固定环(44)固定连接在第四管体(4)内壁底部,所述橡胶圆锥体(42)的底部通过圆台型弹簧(43)与固定环(44)连接。

2.根据权利要求1所述的加油跳枪准确率高的加油嘴,其特征在于:所述橡胶圆锥体(42)的底部开设有固定槽(421),所述圆台型弹簧(43)的顶部与固定槽(421)配合。

3.根据权利要求2所述的加油跳枪准确率高的加油嘴,其特征在于:所述固定环(44)的中部设有导向孔(441),所述导向孔(441)中设有稳定杆(45),稳定杆(45)顶端与固定槽(421)的顶壁固定连接,其底端穿出导向孔(441)通过与其螺接的螺母(41)限位。

4.根据权利要求1所述的加油跳枪准确率高的加油嘴,其特征在于:所述橡胶圆锥体(42)的锥角为30‑45度。

5.根据权利要求1所述的加油跳枪准确率高的加油嘴,其特征在于:所述排气孔(31)的数量为2个,且对称分布。

6.根据权利要求1至5任一权利要求所述的加油跳枪准确率高的加油嘴,其特征在于:所述橡胶圆锥体(42)的锥面上设置有一组扇形导流槽(422)。

我要求购
我不想找了,帮我找吧
您有专利需要变现?
我要出售
智能匹配需求,快速出售