欢迎来到知嘟嘟! 联系电话:13336804447 卖家免费入驻,海量在线求购! 卖家免费入驻,海量在线求购!
知嘟嘟
我要发布
联系电话:13336804447
知嘟嘟经纪人
收藏
专利号: 2019107955317
申请人: 安徽家思特涂料有限责任公司
专利类型:发明专利
专利状态:已下证
专利领域: 手动切割工具;切割;切断
更新日期:2025-04-14
缴费截止日期: 暂无
价格&联系人
年费信息
委托购买

摘要:

权利要求书:

1.一种弧形纸板自动剖切机,其特征在于,包括:

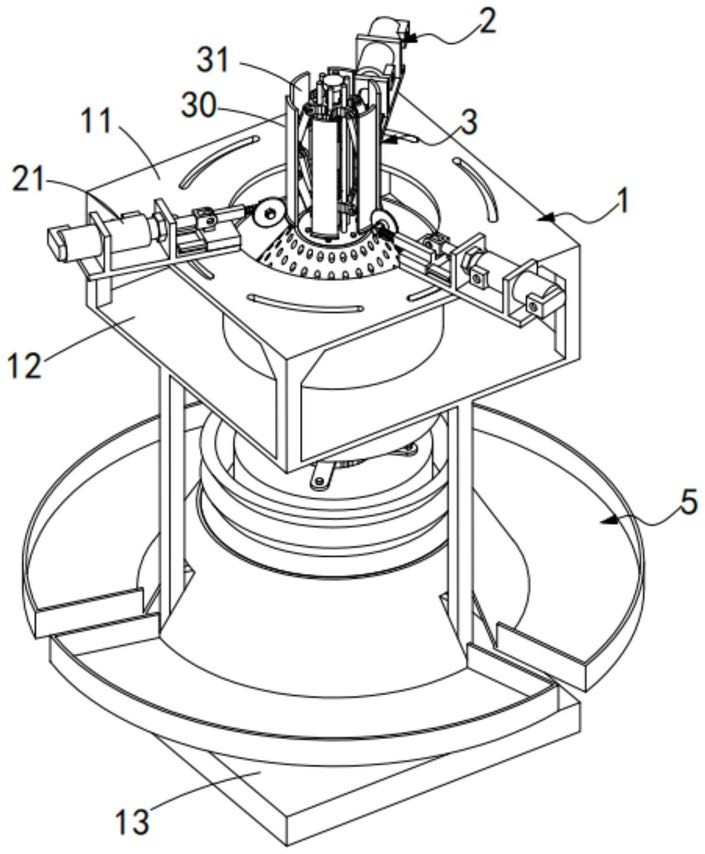
机架(1),所述机架(1)为框型设置,其包括位于顶部的第一安装板(11),位于中部的第二安装板(12)及位于底部的第三安装板(13);

分切机构(2),所述分切机构(2)安装于所述第一安装板(11)上,其包括沿所述第一安装板(11)的轴线圆周等距设置的若干分切组件(21),该分切组件(21)均指向所述第一安装板(11)的中心;

承料机构(3),所述承料机构(3)安装于所述机架(1)的轴线上,其沿该机架(1)的轴线上下升降穿透所述第一安装板(11)及所述第二安装板(12)设置,且该承料机构(3)包括若干绕其轴线圆周阵列设置的承料板(31)及控制该承料板(31)围绕其轴线伸缩扩张调节的调节组件(32),所述承料板(31)组合形成套设待切割的纸质管的承料筒(30);

抬升机构(4),所述抬升机构(4)安装于所述机架(1)上,其位于所述承料机构(3)的正下方,其驱动该承料机构(3)升降设置;以及缓冲吸尘机构(5),所述缓冲吸尘机构(5)安装于所述承料板(31)的下方,其包括导向组件(51)及缓冲吸尘组件(52),所述导向组件(51)位于所述承料板(31)与所述抬升机构(4)之间,该导向组件(51)形成环形的导向通道(511),该导向通道(511)连通所述承料机构(3)与所述缓冲吸尘组件(52),所述缓冲吸尘组件(52)围绕所述抬升机构(4)设置,该缓冲吸尘组件(52)与所述导向组件(51)之间连通设置,且该缓冲吸尘组件(52)包括吸尘气囊(521)及设置于该吸尘气囊(521)上端面上的环形缓冲槽(522),所述环形缓冲槽(522)正对其上方的所述导向通道(511)设置。

2.根据权利要求1所述的一种弧形纸板自动剖切机,其特征在于,所述分切组件(21)包括:连接板(211),所述连接板(211)水平固定安装于第一安装板(11)上,其指向所述第一安装板(11)的中心;

导轨(212),所述导轨(212)安装于所述连接板(211)指向所述第一安装板(11)中心的一侧端部;

滑块(213),所述滑块(213)滑动设置于所述导轨(212)上,其上安装分切刀片(214),该分切刀片(214)竖直转动安装设置;以及推动件(215),所述推动件(215)相对于所述导轨(212)安装于所述连接板(211)的另一端,其推送端与所述滑块(213)连接。

3.根据权利要求2所述的一种弧形纸板自动剖切机,其特征在于,所述分切刀片(214)对所述纸质管进行切割时,其与对应的所述承料板(31)正对设置,所述分切刀片(214)与所述滑块(213)之间通过弹性加压组件(22)连接,该弹性加压组件(22)使所述分切刀片(214)弹性压缩抵触于所述纸质管上,所述分切刀片(214)对所述纸质管进行切割形成若干弧形纸板。

4.根据权利要求3所述的一种弧形纸板自动剖切机,其特征在于,所述弹性加压组件(22)包括:方形套管(221),所述方形套管(221)固定安装于所述滑块(213)上,其指向所述机架(1)的轴线设置,且其上设置有圆形的滑道(222),该滑道(222)的开口处设置有进行限位的台阶(223);

滑杆(224),所述滑杆(224)滑动插设于所述滑道(222)内,其插设于该滑道(222)的一端设置有与所述限位台阶(223)对应配合限位的限位块(225),且其相对所述限位块(225)的另一端与所述分切刀片(214)转动连接;以及弹性加压件(226),所述弹性加压件(226)套设于所述滑杆(224)上,其抵触设置于所述分切刀片(214)与所述方形套管(221)之间。

5.根据权利要求1所述的一种弧形纸板自动剖切机,其特征在于,所述承料板(31)包括:弧形承载部(311),所述弧形承载部(311)为弧形板状设置;以及

承载凸起(312),所述承载凸起(312)设置于所述弧形承载部(311)的下端部,其对套设于所述承料筒(30)上的纸质管限位固定。

6.根据权利要求1所述的一种弧形纸板自动剖切机,其特征在于,所述调节组件(32)包括:安装筒(321),所述安装筒(321)内部中空设置,其与所述抬升机构(4)固定连接;

电机(322),所述电机(322)安装于所述安装筒(321)内,其旋转轴(3221)竖直向上设置;

转轴(323),所述转轴(323)竖直安装于所述电机(322)的正上方,其下端部与所述旋转轴(3221)通过连轴器连接,且其长度方向两端分别设置有正旋螺纹(3231)与反旋螺纹(3232);

螺母(324),所述螺母(324)套设于所述转轴(323)上,其数量为两个,分别与所述正旋螺纹(3231)及所述反旋螺纹(3232)配合设置;

铰接臂(325),所述铰接臂(325)一端与所述螺母(324)铰接,其另一端与所述承料板(31)铰接;以及限位杆(326),所述限位杆(326)绕所述转轴(323)的轴线圆周等距固定设置于所述安装筒(321)的顶部,其穿透所述螺母(324)设置。

7.根据权利要求1所述的一种弧形纸板自动剖切机,其特征在于,所述抬升机构(4)包括:抬升气缸(41),所述抬升气缸(41)竖直设置于所述第二安装板(12)与第三安装板(13)之间,其气缸轴(411)竖直向上推送所述承料机构(3);以及导向杆(42),所述导向杆(42)绕所述抬升气缸(41)的轴线圆周等距设置,其上端与所述承料机构(3)固定连接,且其下端滑动穿透所述机架(1)上。

8.根据权利要求1所述的一种弧形纸板自动剖切机,其特征在于,所述导向组件(51)包括:导向管(512),所述导向管(512)竖直安装于所述第二安装板(12)的中心位置处,所述承料机构(3)在该导向管(512)的内圆周侧壁内上下升降设置;以及导向台(513),所述导向台(513)与所述承料机构(3)固定连接,其为梯形圆台设置,且其位于所述导向管(512)内,并与该导向管(512)配合形成环形的所述导向通道(511),该导向台(513)内部中空设置,并与所述缓冲吸尘组件(52)连通设置,且该导向台(513)的侧壁上开设有吸尘孔(514)。

9.根据权利要求1所述的一种弧形纸板自动剖切机,其特征在于,所述环形缓冲槽(522)的深度为所述纸质管高度的1/2—2/3。

10.根据权利要求1所述的一种弧形纸板自动剖切机,其特征在于,所述缓冲吸尘组件(52)还包括:连接臂(523),所述连接臂(523)围绕所述抬升机构(4)的轴线圆周等距设置,其连接所述吸尘气囊(521)与所述抬升机构(4),且其均位于所述环形缓冲槽(522)的内圈的所述吸尘气囊(521)上;

集尘布袋(524),所述集尘布袋(524)通过气管与所述吸尘气囊(521)连通,其收集所述纸质管切割过程中产生的纸屑;

波纹管(525),所述波纹管(525)连通所述吸尘气囊(521)及所述导向台(512);

止回阀(526),所述止回阀(526)分别设置于所述吸尘气囊(521)与波纹管(525)的连通位置处及所述吸尘气囊(521)与所述集尘布袋(524)的连通位置处;以及接料盘(527),所述接料盘(527)套设于所述吸尘气囊(521)的外围,其与所述机架(1)固定连接,且其包括上部的斜坡部(527)及位于该斜坡部(5271)末端的接料部(5272)。