欢迎来到知嘟嘟! 联系电话:13336804447 卖家免费入驻,海量在线求购! 卖家免费入驻,海量在线求购!
知嘟嘟
我要发布
联系电话:13336804447
知嘟嘟经纪人
收藏
专利号: 2019107209608
申请人: 淮安信息职业技术学院
专利类型:发明专利
专利状态:已下证
专利领域: 测量;测试
更新日期:2024-01-11
缴费截止日期: 暂无
价格&联系人
年费信息
委托购买

摘要:

权利要求书:

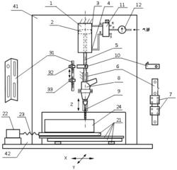
1.钻头测试平台,其特征是:它包括安装骨架、承载机构和钻孔机构,安装骨架上安装承载机构和钻孔机构,整体构成测试平台;所述安装骨架由壁板(41)和与其垂直连接的底板(42)组成;所述承载机构包括十字滑台(21)、X轴步进电机(22)、X轴丝杆(23),十字滑台(21)分别含X轴、Y轴方向的导轨和托板,X轴步进电机(22)通过X轴丝杆(23)联接十字滑台(21)的X轴托板,Y轴步进电机通过Y轴丝杆联接十字滑台(21)的Y轴托板,十字滑台(21)上放置标准试件(24),通过移动十字滑台来改变标准试件(24)的钻孔位置;所述钻孔机构包括带阻尼气缸(1)、连杆(5)、直线导轨(6)、电钻(8)、游标(10)、调压阀(12)、上探头(32)和下探头(33),壁板(41)上固定带阻尼气缸(1),其活塞杆(2)向下,带阻尼气缸(1)的活塞伸出气口(3)、活塞缩回气口(4)通过二位五通电磁阀(11)连接气源的调压阀(12),带阻尼气缸(1)的下方同一轴线上固定直线导轨(6),带阻尼气缸(1)的活塞杆(2)通过连杆(5)与直线导轨(6)上的滑块(7)连接,滑块(7)上固定电钻(8),电钻(8)上卡装被试钻头(9),连杆(5)上安装游标(10),连杆(5)、游标(10)、滑块(7)、电钻(8)及被试钻头(9)随活塞杆(2)一起沿直线导轨(6)上下移动,在连杆(5)的侧方平行的上下位置安装间距可调的两个电感接近式开关作为位置传感器即上探头(32)和下探头(33)。

2.根据权利要求1所述的钻头测试平台,其特征是:在壁板(41)上连杆(5)的侧方平行位置安装探头支架(31),探头支架(31)呈角铁状;一面有两个长条孔,通过两个螺栓固定到壁板(41)上并可松开这两个螺栓上下移动位置;另一直角面上,上方为圆孔,下方为长条孔,分别用来安装上探头(32)和下探头(33),上探头(32)的位置固定,下探头(33)的位置可沿探头支架(31)上下调整。

3.根据权利要求2所述的钻头测试平台,其特征是:上下调整下探头(33)位置,使其与上探头(32)的间距等于钻孔深度;同时,水平方向调整上、下探头的位置,使其感应端与游标(10)的间距为3—4mm。

4.根据权利要求1所述的钻头测试平台,其特征是:在壁板(41)上安装控制器,控制器与电钻(8)、二位五通电磁阀(11)、调压阀(12)、X轴步进电机(22)、Y轴步进电机、上探头(32)和下探头(33)依电路方式连接构成电回路。

5.根据权利要求1所述的钻头测试平台的测试方法,其特征是:它以气缸为动力源,以恒定压力施于被试钻头,测量钻入一定深度的第1个孔和第N个孔所用的时间为对照,判断钻头锋利度和耐磨性,包括锋利度测试和耐磨性也即寿命测试;

其中,锋利度测试:电钻(8)上安装被试钻头(9),十字滑台(21)上放置标准试件(24),用带阻尼气缸(1)带动电钻(8)沿直线导轨(6)上下移动,被试钻头(9)对标准试件(24)施以一定的压力,被试钻头(9)在标准试件24上钻孔;被试钻头(9)钻入标准试件(24)的孔深度由上探头(32)和下探头(33)控制;上一个孔钻完后,提钻、试件移位,再钻下一个孔,重复进行N次;把每次钻孔时间记录下来,通过计算钻孔所用的平均时间,来判断钻头的锋利度,时间越短越锋利;

其中,耐磨性也即寿命测试:通过比较第1次钻孔用的时间和第N次钻孔用的时间的差

值,来判断钻头的耐磨性(寿命),显然,时间的差值越小,钻头的耐磨性越好(寿命越长)。

6.根据权利要求5所述的钻头测试平台的测试方法,其特征是:它是以恒定的电钻转

速、恒定的钻头压力、一定的钻孔深度和标准试件,用被试钻头进行连续钻N个孔,测量各孔所用的时间;即在上述恒定条件下,令被试钻头依次钻N个孔,记录各孔所用时间t1——tN,然后取平均值,t=(t1+t2+…+tN)/N,这样钻孔用时t的长短便反映钻头的锋利度,当然时间越短,钻头越锋利;钻第N孔用的时间tN和第1孔用的时间t1的差值Δt=tN-t1反映钻头的耐磨性(寿命),显然Δt越小,钻头的锋利度衰减越慢,耐磨性越好,寿命越长。

7.根据权利要求6所述的钻头测试平台的测试方法,其特征是:同一规格、不同材质、不同制造工艺的被试钻头通过比较两者的t和Δt即可分辨两者锋利度和耐磨性(寿命)的优劣,t值越小越锋利,Δt值越小越耐磨(寿命越长)。

8.根据权利要求5所述的钻头测试平台的测试方法,其特征是:不同粗细的钻头,测试时的气源压力,即气缸的活塞杆施于钻头的压力、钻孔深度是不同的,根据测试规范设定。

9.根据权利要求5所述的钻头测试平台的测试方法,其特征是:对于某种钻头的测试,气源压力恒定,每次钻孔深度一定,电钻由稳压电源供电转速稳定,钻头的锋利度完全由钻孔所用时间准确地反映出来,钻头的耐磨性(寿命)也由第1孔和第N孔所用时间的差别准确地反映出来。