欢迎来到知嘟嘟! 联系电话:13095918853 卖家免费入驻,海量在线求购! 卖家免费入驻,海量在线求购!
知嘟嘟
我要发布
联系电话:13095918853
知嘟嘟经纪人
收藏
专利号: 2019106537408
申请人: 常州机电职业技术学院
专利类型:发明专利
专利状态:已下证
专利领域: 将固体从固体中分离;分选
更新日期:2025-02-11
缴费截止日期: 暂无
价格&联系人
年费信息
委托购买

摘要:

权利要求书:

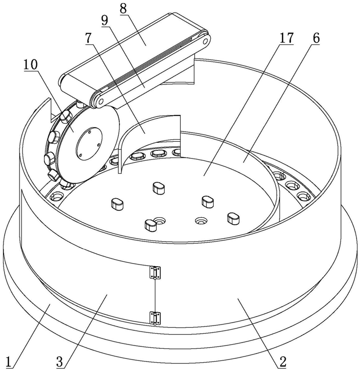
1.一种轻质零件分拣设备,包括机台(1),其特征在于:所述机台(1)上设有绕一竖直轴转动的转盘一(17)和设于所述转盘一(17)外周的一圈围板(2),所述转盘一(17)由驱动装置一(11)驱动,所述转盘一(17)上设有若干可拆卸地弧形块(4),所述弧形块(4)沿周向均布且其顶面设有沿周向均布的收容槽(5);所述机台(1)的上方还设有绕一水平轴转动的转盘二(10),所述转盘二(10)由驱动装置二(29)驱动,所述转盘二(10)的外圆面设有沿周向均布的吸孔(14),其底缘的吸孔(14)能够与其中一个收容槽(5)对齐,其定缘的吸孔(14)的上方设有沿平行于其切线设置的输送带(8),所述输送带(8)的下方设有输送轨(9),所述输送轨(9)的顶面设有轨道槽(16),所述轨道槽(16)的槽底与所述转盘二(10)的顶缘相切;所述转盘二(10)的一侧设有挡板(7),所述挡板(7)将所述弧形块(4)顶面的零件引导至所述转盘一(17)上,所述围板(2)内壁设有若干沿圆周均布的吹气管(24),所述吹气管(24)均朝所述转盘一(17)的旋转方向倾斜。

2.根据权利要求1所述的一种轻质零件分拣设备,其特征在于:所述转盘一(17)的上方还设有导向板(6),所述导向板(6)的内壁与所述围板(2)的内壁之间的距离沿所述转盘一(17)的旋转方向逐渐变小,并在末端形成仅供一个零件通过的通过口。

3.根据权利要求2所述的一种轻质零件分拣设备,其特征在于:所述转盘一(17)的中央连接有转轴二(18),所述转轴二(18)连接所述驱动装置一(11)。

4.根据权利要求3所述的一种轻质零件分拣设备,其特征在于:所述围板(2)上设有开口,所述开口处设有门(3)。

5.根据权利要求4所述的一种轻质零件分拣设备,其特征在于:所述挡板(7)设于所述通过口的前方。

6.根据权利要求5所述的一种轻质零件分拣设备,其特征在于:所述导向板(6)为沿一涡状线延伸而成的板体,所述挡板(7)为沿一圆弧延伸而成的板体,所述挡板(7)的一端紧贴所述围板(2)的内壁,另一端横跨所述弧形块(4)至所述转盘一(17)的上方。

7.根据权利要求6所述的一种轻质零件分拣设备,其特征在于:所述转盘二(10)的中央设有中心孔,所述中心孔中设有转轴一(12),所述转轴一(12)内设有连通至其一端的的气道(13),所述转轴一(12)的另一端设有连通所述吸孔(14)和气道(13)的连接孔(15),所述转轴一(12)连接所述驱动装置二(29)。

8.根据权利要求7所述的一种轻质零件分拣设备,其特征在于:所述驱动装置二(29)为同步带传动装置。

9.根据权利要求8所述的一种轻质零件分拣设备,其特征在于:所述驱动装置一(11)为同步带传动装置。