欢迎来到知嘟嘟! 联系电话:13336804447 卖家免费入驻,海量在线求购! 卖家免费入驻,海量在线求购!
知嘟嘟
我要发布
联系电话:13336804447
知嘟嘟经纪人
收藏
专利号: 2019106485583
申请人: 金晓静
专利类型:发明专利
专利状态:已下证
专利领域: 固体废物的处理;被污染土壤的再生〔3,6〕
更新日期:2025-07-02
缴费截止日期: 暂无
价格&联系人
年费信息
委托购买

摘要:

权利要求书:

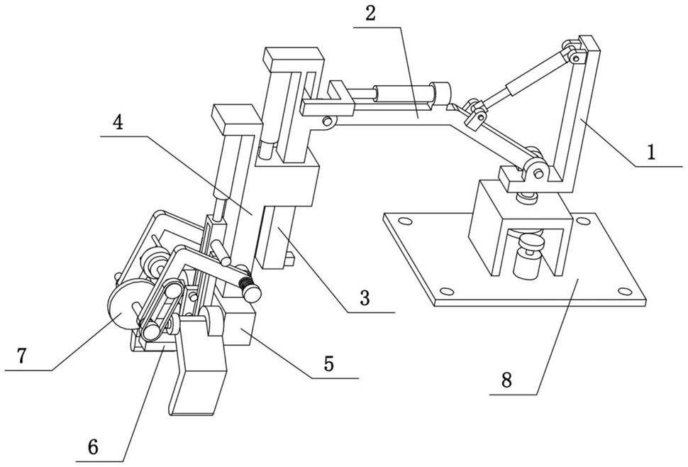
1.一种工业垃圾安全填埋臂,包括竖滑臂(4)、底块(5)、夹爪(501)、齿轮I(502)、压板(6)、滑孔柱(602)和齿条(604),其特征在于:所述竖滑臂(4)的下端固定连接有底块(5),底块(5)上铰接连接有两个夹爪(501),两个夹爪(501)相对设置,两个夹爪(501)的上端均固定连接有齿轮I(502),压板(6)的上端固定连接有滑孔柱(602),滑孔柱(602)滑动连接在底块(5)的中部,滑孔柱(602)的前后两侧均固定连接有齿条(604),两个齿条(604)分别与两个齿轮I(502)啮合传动;

所述工业垃圾安全填埋臂还包括凸板(503)、限位销(504)和滑孔(603),底块(5)的中部固定连接有凸板(503),滑孔柱(602)上设置有滑孔(603),凸板(503)滑动连接在滑孔(603)上,凸板(503)的左侧固定连接有限位销(504),滑孔柱(602)位于限位销(504)和底块(5)之间;

所述工业垃圾安全填埋臂还包括固定轴(404)、圆锯槽(601)、圆锯(7)、圆锯轴(701)和折架杆(702),压板(6)的中部设置有圆锯槽(601),竖滑臂(4)的前后两侧均固定连接有固定轴(404),折架杆(702)前后设置有两个,两个折架杆(702)的右端分别转动连接在两个固定轴(404)上,圆锯(7)固定连接在圆锯轴(701)的中部,圆锯轴(701)的前后两端分别转动连接在两个折架杆(702)的左端,圆锯(7)可以插入圆锯槽(601)。

2.根据权利要求1所述的一种工业垃圾安全填埋臂,其特征在于:所述工业垃圾安全填埋臂还包括固定圆柱(605)、圆挡片(405)和扭簧(406),滑孔柱(602)的前侧固定连接有固定圆柱(605),两个固定轴(404)的外端均固定连接有圆挡片(405),两个固定轴(404)上均套接有扭簧(406),两个扭簧(406)的外端分别固定连接在两个圆挡片(405)上,两个扭簧(406)的内端分别固定连接在两个折架杆(702)上,固定圆柱(605)与其中一个折架杆(702)的上侧相接触。

3.根据权利要求2所述的一种工业垃圾安全填埋臂,其特征在于:所述工业垃圾安全填埋臂还包括电机架(703)、电机I(704)、皮带轮I(705)和皮带轮II(706),其中一个折架杆(702)上固定连接有电机架(703),电机架(703)上固定连接有电机I(704),电机I(704)的输出轴上固定连接有皮带轮I(705),圆锯轴(701)的一端固定连接有皮带轮II(706),皮带轮I(705)和皮带轮II(706)之间通过皮带传动。

4.根据权利要求3所述的一种工业垃圾安全填埋臂,其特征在于:所述工业垃圾安全填埋臂还包括液压缸座III(402)和液压缸IV(403),竖滑臂(4)的上端固定连接有液压缸座III(402),液压缸座III(402)的下侧固定连接有液压缸IV(403),液压缸IV(403)的下端固定连接在滑孔柱(602)的上端。

5.根据权利要求4所述的一种工业垃圾安全填埋臂,其特征在于:所述工业垃圾安全填埋臂还包括固定套(401)、探臂(3)、液压缸座II(301)和液压缸III(302),竖滑臂(4)的上端固定连接有固定套(401),固定套(401)滑动连接在探臂(3)上,探臂(3)的上端固定连接有液压缸座II(301),液压缸座II(301)的下侧固定连接有液压缸III(302),液压缸III(302)的下端固定连接在固定套(401)的上侧。

6.根据权利要求5所述的一种工业垃圾安全填埋臂,其特征在于:所述工业垃圾安全填埋臂还包括折臂(2)、液压缸座I(201)、液压缸II(202)、L形杆(203)、滑圆柱(204)和滑槽(303),探臂(3)的上端设置有滑槽(303),折臂(2)的中部固定连接有液压缸座I(201),液压缸座I(201)上固定连接有液压缸II(202),液压缸II(202)的左端固定连接有L形杆(203),L形杆(203)上固定连接有滑圆柱(204),折臂(2)的左端铰接连接在探臂(3)的上端,滑圆柱(204)滑动连接在滑槽(303)上。

7.根据权利要求6所述的一种工业垃圾安全填埋臂,其特征在于:所述工业垃圾安全填埋臂还包括竖臂(1)、底座(101)和液压缸I(102),竖臂(1)的下端固定连接有底座(101),折臂(2)的右端铰接连接在底座(101)上,液压缸I(102)的一端铰接连接在竖臂(1)的上端,液压缸I(102)的另一端铰接连接在折臂(2)的中部。

8.根据权利要求7所述的一种工业垃圾安全填埋臂,其特征在于:所述工业垃圾安全填埋臂还包括底板(8)、门形架(801)、电机II(802)、齿轮II(803)、齿轮III(804)和主轴(805),底板(8)的上端固定连接有门形架(801),门形架(801)上转动连接有主轴(805),主轴(805)的下端固定连接有齿轮III(804),底板(8)上固定连接有电机II(802),电机II(802)的输出轴上固定连接有齿轮II(803),齿轮II(803)与齿轮III(804)啮合传动,底座(101)固定连接在主轴(805)的上端。