欢迎来到知嘟嘟! 联系电话:13336804447 卖家免费入驻,海量在线求购! 卖家免费入驻,海量在线求购!
知嘟嘟
我要发布
联系电话:13336804447
知嘟嘟经纪人
收藏
专利号: 2019106106591
申请人: 太原理工大学
专利类型:发明专利
专利状态:已下证
专利领域: 手动工具;轻便机动工具;手动器械的手柄;车间设备;机械手
更新日期:2024-01-05
缴费截止日期: 暂无
价格&联系人
年费信息
委托购买

摘要:

权利要求书:

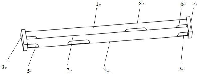
1.一种柔性铰链冗余驱动并联结构刚度杆,包括刚度杆的基本单元结构;其特征在于:所述刚度杆是由一个基本单元构成、或者是由N个基本单元构成;

所述基本单元结构是由柔性铰链薄壁伸杆及其安装支座构成;

所述柔性铰链薄壁伸杆是由带有单元内反对称分布柔性铰链设置的第一柔性铰链薄壁伸杆(1)和第二柔性铰链薄壁伸杆(2)及其第一安装支座(3)和第二安装支座(4)构成;

所述第一柔性铰链薄壁伸杆(1)和第二柔性铰链薄壁伸杆(2)含有柔性铰链Ⅰ(5)、含有柔性铰链Ⅱ(6)、含有柔性铰链Ⅲ(7)、含有柔性铰链Ⅳ(8)、含有柔性铰链Ⅴ(9)及含有柔性铰链Ⅵ(10)。

2.如权利要求1所述的柔性铰链冗余驱动并联结构刚度杆,其特征在于:所述基本单元结构的分布规律是单元内的柔性铰链反对称布置,实现单元的平行四边形折叠。

3.如权利要求1所述的柔性铰链冗余驱动并联结构刚度杆,其特征在于:所述并联结构刚度杆的驱动数为6;过约束自由度为2。

4.如权利要求1所述的柔性铰链冗余驱动并联结构刚度杆,其特征在于:所述并联结构刚度杆是轴向180 度折叠展开结构。