欢迎来到知嘟嘟! 联系电话:13336804447 卖家免费入驻,海量在线求购! 卖家免费入驻,海量在线求购!
知嘟嘟
我要发布
联系电话:13336804447
知嘟嘟经纪人
收藏
专利号: 201910592744X
申请人: 昆山索福达精密机械有限公司
专利类型:发明专利
专利状态:已下证
专利领域: 机床;其他类目中不包括的金属加工
更新日期:2026-03-04
缴费截止日期: 暂无
价格&联系人
年费信息
委托购买

摘要:

权利要求书:

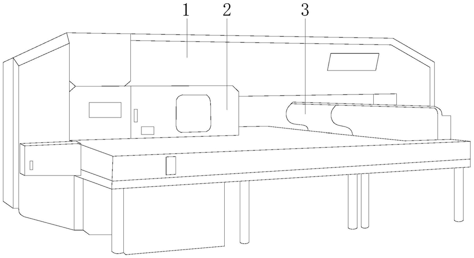
1.一种基于冷气局部降温的金属材料深加工的冲床,其结构包括冲床(1)、车削仓(2)、置料斗(3),所述冲床(1)装设有车削仓(2),所述冲床(1)安装有置料斗(3),所述车削仓(2)装设有车削装置(4),所述车削装置(4)由工件(40)、车刀(41)、冷却罩(42)组成,所述工件(40)分别与车刀(41)、冷却罩(42)贴合,其特征在于:所述车刀(41)包括车刀柄(410)、车刀头(411)、内部冷却装置(412),所述车刀柄(410)与车刀头(411)扣接,所述车刀头(411)安装有内部冷却装置(412);

所述内部冷却装置(412)包括冷却液装置(50)、冷却盒(51)、锥罩(52),所述冷却液装置(50)嵌装在冷却盒(51)上,所述冷却盒(51)与锥罩(52)啮合;

所述冷却液装置(50)包括储罩盒(60)、内分器(61)、分液器(62),所述储罩盒(60)与内分器(61)扣接,所述储罩盒(60)、内分器(61)安装在分液器(62)上;

所述冷却盒(51)包括框盒(70)、液凝器(71)、嵌柱(72),所述框盒(70)安装有液凝器(71),所述液凝器(71)与嵌柱(72)锁定。

2.根据权利要求1所述的一种基于冷气局部降温的金属材料深加工的冲床,其特征在于:所述冷却罩(42)包括中度冷区(420)、重度冷区(421)、低度冷区(422),所述重度冷区(421)与中度冷区(420)、低度冷区(422)拼接安装。

3.根据权利要求2所述的一种基于冷气局部降温的金属材料深加工的冲床,其特征在于:所述中度冷区(420)包括集中区(80)、分散区(81),所述集中区(80)与分散区(81)相邻。

4.根据权利要求2所述的一种基于冷气局部降温的金属材料深加工的冲床,其特征在于:所述重度冷区(421)包括紧贴冷却器(90)、U形框(91),所述紧贴冷却器(90)装设在U形框(91)上。

我要求购
我不想找了,帮我找吧
您有专利需要变现?
我要出售
智能匹配需求,快速出售